Appearance
真人电子管理
真人投注记录

特别说明:
进入后默认筛选状态为「已结算」,目的是让您第一时间看到最近已完成结算的投注记录(通常按时间倒序排列),方便快速核对结算结果。
- 时间筛选
- 快速筛选:提供预设选项,如“今日”、“昨日”、“本周”、“前一天”、“前一月”等,便于一键选择。
- 手动输入:支持自定义时间区间,例如输入起始日期和结束日期进行精确查询。
- 查询筛选设置
- 全部类型
支持多选:LW、OG、EVO、SA、DG 等全部类型,未设置时默认:全部类型。
- 全部游戏(单选)选项包含:龙虎、百家乐、牛牛、轮盘、炸金花、21点 等,未设置时默认:全部游戏。
- 订单状态 :已结算、未结算、撤单(支持多选)
- 查询字段(可组合使用):会员帐号(支持多帐号,用逗号分隔或空格分隔)、桌号、注单号、代理所属帐号、三方平台帐号、局号,用于精确查询。

- 补单功能

点击「补单」按钮,弹出补单窗口,需完整填写以下必填项:第三方平台、补单日期。
所有必填项填写完整后,「确定」按钮才会启用,点击「确定」提交补单申请。


- 导出功能

操作方式: 点击「导出」按钮后,会弹出选择菜单:
- 导出全部 → 导出符合当前筛选条件的全部数据
- 导出当页 → 仅导出当前页面显示的数据
电子投注记录

- 时间筛选
- 快速筛选:提供预设选项,如“今日”、“昨日”、“本周”、“前一天”、“前一月”等,便于一键选择。
- 手动输入:支持自定义时间区间,例如输入起始日期和结束日期进行精确查询。
- 查询筛选设置
- 全部类型
支持多选:FG、PG、PP、LG、开元 等全部类型,未设置时默认:全部类型。
- 全部游戏(单选)选项包含:欢乐水果、街头霸王、东方国度、西部牛仔、幻想大陆、西游 等,未设置时默认:全部游戏。
- 查询字段(可组合使用):会员帐号(支持多帐号,用逗号分隔或空格分隔)、注单号、代理所属帐号、三方平台帐号、局号,用于精确查询。

- 导出功能

操作方式: 点击「导出」按钮后,会弹出选择菜单:
- 导出全部 → 导出符合当前筛选条件的全部数据
- 导出当页 → 仅导出当前页面显示的数据
棋牌投注记录

- 时间筛选
- 快速筛选:提供预设选项,如“今日”、“昨日”、“本周”、“前一天”、“前一月”等,便于一键选择。
- 手动输入:支持自定义时间区间,例如输入起始日期和结束日期进行精确查询。
- 查询筛选设置
全部类型
支持多选:FG、开元、VG、LC、BL 等全部类型,未设置时默认:全部类型。
全部游戏(单选)选项包含:德州扑克、二八杠、抢庄牛牛、炸金花、三公、斗地主 等,未设置时默认:全部游戏。
- 查询字段(可组合使用):会员帐号(支持多帐号,用逗号分隔或空格分隔)、注单号、代理所属帐号、三方平台帐号、桌号、房号,用于精确查询。

- 导出功能

操作方式: 点击「导出」按钮后,会弹出选择菜单:
- 导出全部 → 导出符合当前筛选条件的全部数据
- 导出当页 → 仅导出当前页面显示的数据
体育投注记录

- 时间筛选
- 快速筛选:提供预设选项,如“今日”、“昨日”、“本周”、“前一天”、“前一月”等,便于一键选择。
- 手动输入:支持自定义时间区间,例如输入起始日期和结束日期进行精确查询。
- 查询筛选设置
- 全部类型
支持多选:AG、SB、CR、IA、UG 等全部类型,未设置时默认:全部类型。
- 订单状态 :已结算、未结算、撤单(支持多选)
- 查询字段(可组合使用):会员帐号(支持多帐号,用逗号分隔或空格分隔)、注单号、代理所属帐号、三方平台帐号,用于精确查询。

- 导出功能

操作方式: 点击「导出」按钮后,会弹出选择菜单:
- 导出全部 → 导出符合当前筛选条件的全部数据
- 导出当页 → 仅导出当前页面显示的数据
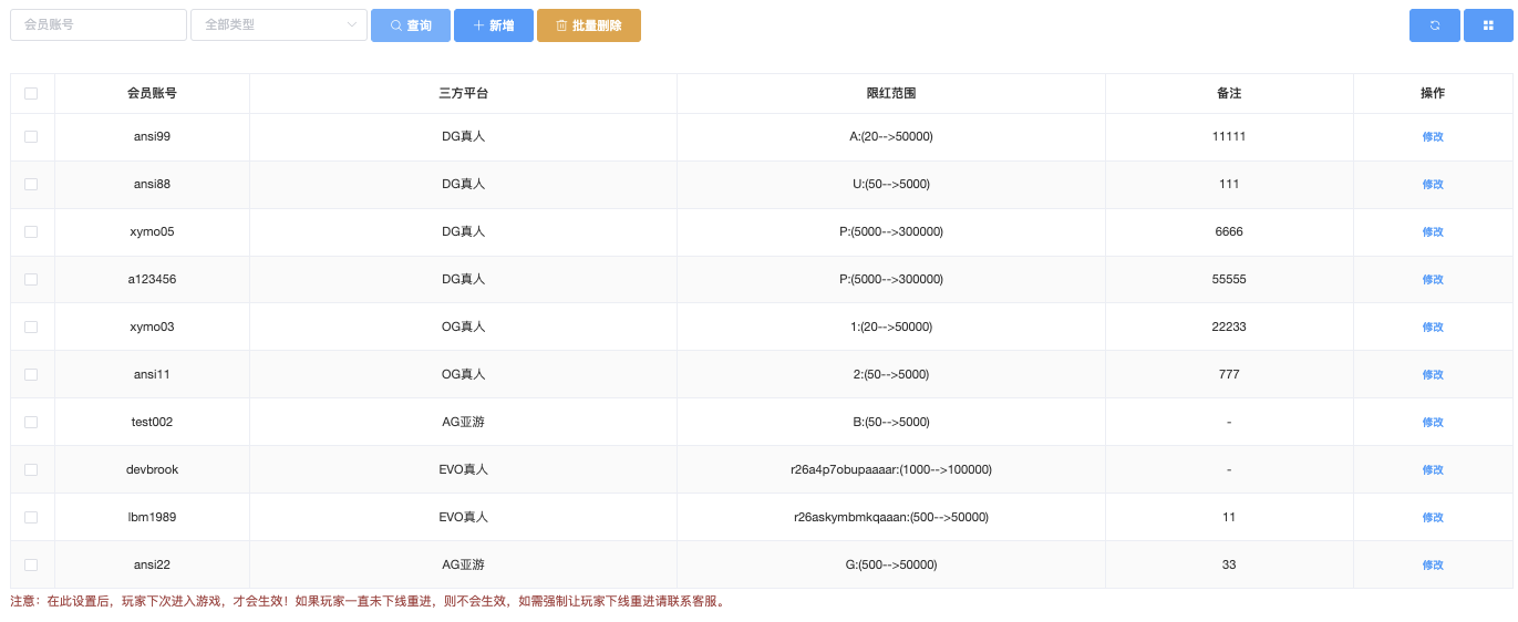
会员限红管理

功能概述
用于控制玩家在各个第三方游戏平台(如PA亚游、DG真人、OG真人、EVO真人 等)单次投注金额上下限的工具。
每条限红记录 = 一位会员、一个第三方平台、一组限额范围
查询 → 根据会员账号或平台筛选,用于精确查询。 如图下操作
在「会员账号」输入框中输入玩家账号 查询

在「三方平台类型 」选择框中选择平台类型 查询

「会员账号」输入+「三方平台类型 」选择 查询

新增
→ 添加新的限红设置
点击「
」按钮挑出弹窗,会员帐号、三方平台、限红范围 为必填,备注(选填)输入
- 输入「会员账号」
请输入完整且正确的会员账号。若账号不存在或输入错误,系统将弹出红色提示窗口:「会员账号不存在」,请确认后重新输入。
- 选择「三方平台」
必须先选择三方平台(如下拉菜单选取「DG真人」或「OG真人」等),
选择完成后,下方的「限红范围」选项才会自动加载对应平台的可用组别。
- 选择「限红范围」
根据所选的三方平台,系统会显示该平台专属的限红组别(如 A(20→50000)、G(500→50000) 等)。
不同平台提供的限红组别范围与效果均有差异,需根据需求选择。
- 备注(选填)
如填写调整原因或说明,以便后续后台人员快速了解调整情况。

*修改 限红设置
如需修改某会员的限红条件,于列表中找到对应记录,点击右侧“操作”栏的【修改】按钮。
系统将弹出编辑弹窗,编辑完成后,点击【确认】保存修改;如不想修改,点击【取消】关闭弹窗。


批量删除
→ 勾选记录后删除
操作步骤:
在列表左侧勾选需要删除的记录(可多选)
- 点击「批量删除」按钮,系统弹出确认窗口,显示:确认此操作?
- 点击「确定」执行 / 点击「取消」放弃操作

玩家额度记录

會員帳號 查詢 / 會員帳號+三方帳號 查詢
輸入欲查詢,即可即時顯示該帳號詳細資料,包括:
- 帳號餘額
- 真實姓名
- 各館場餘額
並可直接進行以下操作:
- 即時刷新餘額
- 轉出金額等功能

三方转帐记录

- 时间筛选
- 快速筛选:提供预设选项,如“今日”、“昨日”、“本周”、“前一天”、“前一月”等,便于一键选择。
- 手动输入:支持自定义时间区间,例如输入起始日期和结束日期进行精确查询。
- 全部平台
可选项:AG / DS / FG / KY 等项目(支持多选)
默认:未选择时查询全部平台的转帐记录
- 转帐类型 可选项:转入 / 转出(单选),默认:未选择时查询全部类型
- 查询字段
- 会员帐号:输入单个或多个帐号(用逗号或空格分隔),支持多选查询
- 三方玩家帐户:输入第三方平台的玩家帐户
- 订单号:转帐订单号(精确查询)
- 三方订单号:第三方平台的订单号(精确查询)
- 状态 :(单选)
需要check(人工核对)、失败、成功
默认:未选择时查询全部状态
- 三方状态:(单选)
- 初始化(刚创建,未处理)
- 未知(状态不明或超时)
- 成功
- 失败
- 不存在(订单未在第三方找到)
默认:未选择时查询全部三方状态
- 是否人工干预 可选项:(单选)
- 人工干预-失败(人工处理后仍失败)
- 人工干预-成功(人工干预后转帐成功)
默认:未选择时不限制(包含无干预记录)

- 导出功能

操作方式: 点击「导出」按钮后,会弹出选择菜单:
- 导出全部 → 导出符合当前筛选条件的全部数据
- 导出当页 → 仅导出当前页面显示的数据
三方平台管理

设置说明
- 支持的游戏类型:
真人视讯、电子游戏、棋牌游戏、电子竞技、体育竞技、捕鱼游戏
(单选,如不选择则默认包含全部游戏类型)
- 平台编码(选填):输入唯一的平台标识码
- 平台名称(选填):输入显示用的平台名称
- 是否可用:是 / 否(该功能显目前是否能使用游戏类)

三方平台排序 功能 
操作方式: 点击「三方平台排序」按钮后,会弹出选择菜单:
- 最上方可选择游戏类型(真人视讯、电子游戏、棋牌娱乐 等)
- 下方「排序值」从 0 开始填写,输入数字后系统会立刻自动生效,无需额外点击确认。
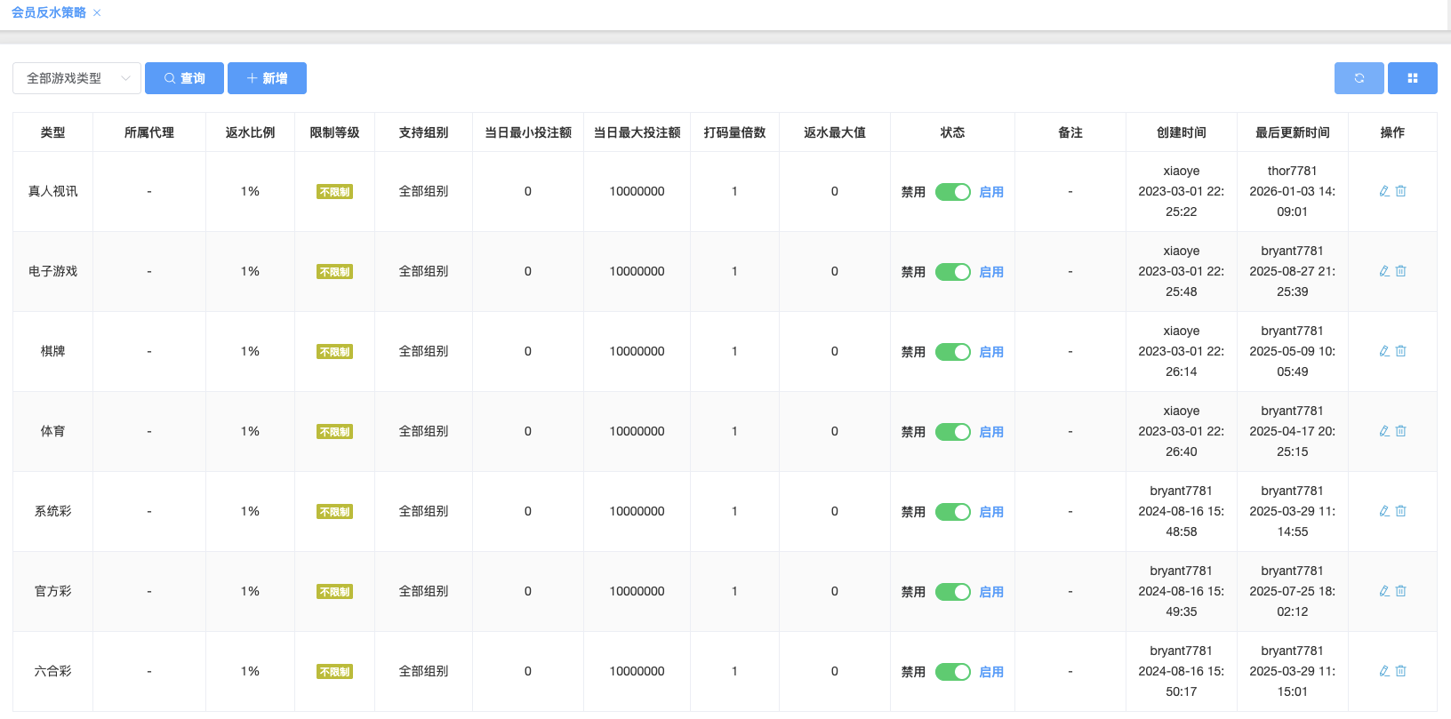
会员反水策略

页面功能概述
「会员反水策略管理」页面用于设置和管理不同游戏类型的反水(返水)规则,包括返水比例、投注限制、支持的会员组别等。
管理员可针对不同游戏类型(或全部类型)制定独立的返水策略,并快速启用 / 禁用。
支持的游戏类型:
电子游戏、棋牌、体育、真人视讯、系统彩、官方彩、六合彩,(单选,如不选择则默认包含全部游戏类型)
新增
反水策略
操作步骤:
点击页面右上角的「+ 新增」按钮,弹出新增窗口,填写以下关键信息:
- 先决定「返水类型」:只针对特定游戏→ 选择单一类型
电子游戏、棋牌、体育、真人视讯、系统彩、官方彩、六合彩
- 返水比例%:(必填)按照当前公司规定
- 最小 / 最大有效投注:
通常最小有效注设 0 / 100000000(最大有效投注不得小于最小有效投注)
- 打码量倍数:按规定,通常填 1起
- 最高返水上限:按规定,通常填 0(不限)
- 状态:「启用」、「禁用」
- 所属代理:(选填)未填表示所有代理均可使用
- 支持等级:(选填)未填表示所有等级均可使用
- 支持组别:(选填)未填表示所有组别均可使用
- 备注 → (选填)可简单写明用途,便于后台系统操作人员查看

*补充说明:如第8点、第9点选择等级或者组别,则在列表显示如图下


- 列表中可直接点击「状态」栏位的开关按钮,即可快速切换启用/禁用状态,无需进入编辑页面。
- 编辑
、删除 
*如需修改或删除反水策略,请在列表最右侧「操作」栏中进行。
- 编辑:点击编辑「
」图标,弹出编辑窗口 → 修改完成后点击「确定」即可保存。

- 删除:点击删除「
」图标,弹出确认提示 → 点击「确定」执行删除 / 点击「取消」放弃操作。

三方平台游戏管理

- 所属平台:只看特定平台就勾选,不勾选就自动包含全部平台(AG、DS、FG、KY 等多项)
- 游戏类型:只需看某类游戏就选,不选的话会包含所有类型(电子游戏、棋牌、体育、真人、水果、捕鱼等)
- 游戏编码:正确编码直接输入最精准快速
- 游戏名称:名称可输入(支援模糊找)如:输入 「真人」
- 热门 / 最新 / 启用:想筛特定状态就勾「是 / 否」,都不勾就包含所有状态

- 批量功能

操作方式:
- 于列表左侧栏位先行勾选完毕(支持多勾选),勾選完成後。
- 點擊工具列的「批量啟用」或「批量禁用」按鈕。
点击「批量启用」、「批量禁用」按钮后,会弹出选择菜单:
將彈出確認視窗:
- 點擊「確定」 → 立即執行批量操作
- 點擊「取消」 → 放棄本次操作

会员反水

- 时间筛选
- 快速筛选:提供预设选项,如“今日”、“昨日”、“本周”、“前一天”、“前一月”等,便于一键选择。
- 手动输入:支持自定义时间区间,例如输入起始日期和结束日期进行精确查询。
- 会员帐号:输入帐号,用于精确查询。
- 等级选择 选项:(单选)VIP1 到 VIP12、举报层、刷水层。
- 全部类型 筛选
默认设置:不选择任何类型时,默认查询全部类型。
支持多选:电子游戏、棋牌、体育、真人视讯、系统彩、官方彩、六合彩
- 选择返水状态:(单选)未返点、已返点、已回滚
- 统计昨天返水(若系统已于凌晨自动完成昨日返点统计,则该按钮将变为无效状态)


- 导出功能

操作方式: 点击「导出」按钮后,会弹出选择菜单:
- 导出全部 → 导出符合当前筛选条件的全部数据
- 导出当页 → 仅导出当前页面显示的数据

- 批量返水
、批量回滚 
操作步骤:
在列表左侧勾选需要删除的记录(可多选)
- 点击「批量返水」、「批量回滚」按钮
- 系统弹出确认窗口,显示:确定此操作?
- 点击「确定」执行 ,点击「取消」放弃操作
*支持单一帐户回滚操作:
若仅需处理单个会员的返水,在表格对应行右侧的“操作”栏,点击「
」回滚按钮。系统将弹出确认窗口,点击【确认】后即完成回滚,状态变为“已回滚”。

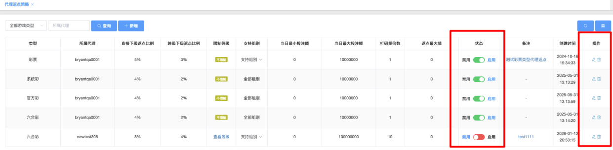
代理返點策略

- 全部游戏类型 筛选:(单选)系统彩、彩票、官方彩、六合彩。 作用:筛选特定游戏类型的代理返点策略。
- 所属代理: 输入代理账号,快速查找某个代理的所有返点配置。

新增功能 
操作步骤:
点击页面右上角的「+ 新增」按钮,弹出新增窗口,填写以下关键信息:
- 先决定「游戏类型」:只针对特定游戏→ 选择单一类型
系统彩、彩票、官方彩、六合彩
- 所属代理:(必填)
- 直接下级返点比例(%):(必填)按照当前公司规定
- 跨级下级返点比例(%):(必填)按照当前公司规定
- 最小 / 最大有效投注:
通常最小有效注设 0 / 100000000(最大有效投注不得小于最小有效投注)
- 打码量倍数:按规定,通常填 1起
- 最高返点上限:按规定,通常填 0(不限)
- 状态:「启用」、「禁用」
- 支持等级:(选填)未填表示所有等级均可使用
- 支持组别:(选填)未填表示所有组别均可使用
- 备注 → (选填)可简单写明用途,便于后台系统操作人员查看

*补充说明:如第9点、第10点选择等级或者组别,则在列表显示如图下


- 列表中可直接点击「状态」栏位的开关按钮,即可快速切换 启用 / 禁用 状态,无需进入编辑页面。
- 编辑
、删除 
*如需修改或删除反水策略,请在列表最右侧「操作」栏中进行。
- 编辑:点击编辑「
」图标,弹出编辑窗口 → 修改完成后点击「确定」即可保存。

- 删除:点击删除「
」图标,弹出确认提示 → 点击「确定」执行删除 / 点击「取消」放弃操作。

代理返点

- 时间筛选
- 快速筛选:提供预设选项,如“今日”、“昨日”、“本周”、“前一天”、“前一月”等,便于一键选择。
- 手动输入:支持自定义时间区间,例如输入起始日期和结束日期进行精确查询。
- 所属代理、下级会员:(选填),用于精确查询。
- 全部类型:(支持多选)系统彩、彩票、官方彩、六合彩
- 等级选择 选项:(单选)VIP1 到 VIP12、举报层、刷水层
- 选择返点状态:(单选)未返点、已返点、已回滚
- 统计昨天返水
(若系统已于凌晨自动完成昨日返点统计,则该按钮将变为无效状态)


- 导出功能

操作方式: 点击「导出」按钮后,会弹出选择菜单:
- 导出全部 → 导出符合当前筛选条件的全部数据
- 导出当页 → 仅导出当前页面显示的数据

- 批量返点
、批量回滚 
操作步骤:
在列表左侧勾选需要删除的记录(可多选)
点击「批量返点」、「批量回滚」按钮
系统弹出确认窗口,显示:确定要锁定所选记录吗?
点击「确定」执行锁定 / 点击「取消」放弃操作
*支持单一帐户回滚操作:
若仅需处理单个会员的返点,在表格对应行右侧的“操作”栏,点击「
」回滚按钮。系统将弹出确认窗口,点击【确认】后即完成回滚,状态变为“已回滚”。

上级代理返点策略

- 全部游戏类型 筛选:(单选)电子游戏、棋牌、体育、真人视讯、系统彩、彩票、官方彩、六合彩。 作用:筛选特定游戏类型的代理返点策略。
- 所属代理帐号: 输入代理账号,快速查找某个所属代理的所有返点配置。

新增功能 
操作步骤:
点击页面右上角的「+ 新增」按钮,弹出新增窗口,填写以下关键信息:
- 先决定「游戏类型」:只针对特定游戏→ 选择单一类型
电子游戏、棋牌、体育、真人视讯、系统彩、彩票、官方彩、六合彩
- 所属代理:(选填)如未填代表全部代理
- 返点比例(%):(必填)按照当前公司规定
- 返点类型:直接下级返点、逐级返点
- 最小有效投注(大于等于):填 0 表示不限制
- 打码量倍数:按规定,通常填 1起
- 最高返点上限:按照当前公司规定,通常填 0(不限制)
- 状态:「启用」、「禁用」
- 支持等级:(选填)未填表示所有等级均可使用
- 支持组别:(选填)未填表示所有组别均可使用
- 备注 → (选填)可简单写明用途,便于后台系统操作人员查看

*补充说明:如第9点、第10点选择等级或者组别,则在列表显示如图下


- 列表中可直接点击「状态」栏位的开关按钮,即可快速切换启用/禁用状态,无需进入编辑页面。
- 编辑
、删除 
*如需修改或删除反水策略,请在列表最右侧「操作」栏中进行。
- 编辑:点击编辑「
」图标,弹出编辑窗口 → 修改完成后点击「确定」即可保存。

- 删除:点击删除「
」图标,弹出确认提示 → 点击「确定」执行删除 / 点击「取消」放弃操作。

上级代理返点

- 时间筛选
- 快速筛选:提供预设选项,如“今日”、“昨日”、“本周”、“前一天”、“前一月”等,便于一键选择。
- 手动输入:支持自定义时间区间,例如输入起始日期和结束日期进行精确查询。
- 所属代理、下级会员:(选填),用于精确查询。
- 全部类型:(支持多选)电子游戏、棋牌、体育、真人视讯、系统彩、彩票、官方彩、六合彩
- 选择返点状态:(单选)未返点、已返点、已回滚
- 统计昨天返水(若系统已于凌晨自动完成昨日返点统计,则该按钮将变为无效状态)

- 导出功能

操作方式: 点击「导出」按钮后,会弹出选择菜单:
- 导出全部 → 导出符合当前筛选条件的全部数据
- 导出当页 → 仅导出当前页面显示的数据

- 批量返点 、批量回滚
操作步骤:
在列表左侧勾选需要删除的记录(可多选)
点击「批量返点」、「批量回滚」按钮
系统弹出确认窗口,显示:确定要锁定所选记录吗?
点击「确定」执行锁定 / 点击「取消」放弃操作
*支持单一帐户回滚操作:
若仅需处理单个会员的返点,在表格对应行右侧的“操作”栏,点击「」回滚按钮。系统将弹出确认窗口,点击【确认】后即完成回滚,状态变为“已回滚”。
