Appearance
活动管理
抽奖活动
在线活动
- 活动名称:模糊搜索,(如 注册)
- 是否启用:(下拉)是 / 否
- 活动类型:(下拉)大转盘活动 / 宝箱活动
- 新增
功能
- 新增
点击「
」弹出「新增抽奖活动」窗口,需填写资讯
- 活动名称:自定义前台展示名称(如 阿咪活动)
- 活动类型:(下拉)大转盘活动 / 宝箱活动
- *活动类型选择不同,后续填写资讯也会不同
- 参与类型:(下拉)充值 / 打码量
- 统计类型:(下拉)注册至今数据、当日数据、当日首充数据、活动期间数据、当日单笔充值数据、活动期间单笔充值数据、昨日数据
- 梯级活动参数:(选填)可新增每一级的下一级的最小值一定要大于上一级的最大值
- 最小充值/打码量:数值,正整数
- 最大充值/打码量:数值,正整数
- 可玩次数:数值,正整数
- 是否启用:(下拉)是 / 否
- 是否自动发放:(下拉)是 / 否
- 活动开始时间:活动起时日
- 活动结束时间:活动截止日
- 现金奖品打码量倍数:数值(如1、3、5),表示中现金奖需打码倍数
- 移动端编辑:独立文本编辑器(可与电脑端内容不同)
- 活动背景图(PC) / 活动背景图(移动端):可点击选择图片,如未有图片上传图片
- 活动图片(通用) / 活动图片(移动端):可点击选择图片,如未有图片上传图片
- 支持使用等级:(选填)若未选择表示所有等级都可用
- 支持使用组别:(选填)若未选择全部组别都适用
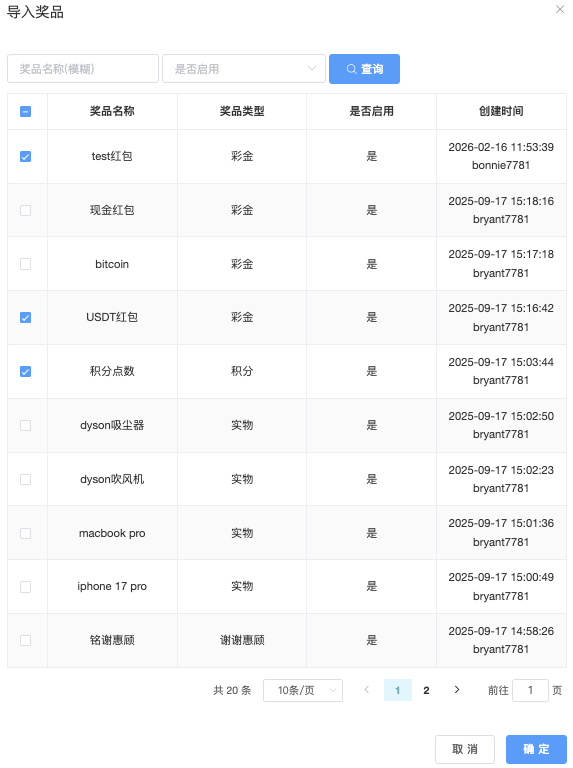
- 奖品与概率配置:点击「添加奖品」开启「导入奖品」弹窗选择奖品点击「确定」即可。
- 中奖概率(%)填写完成后,可在此自定义该奖品的单次中奖概率(%)。示例:输入 80 表示 80%。
- 所有奖品的概率总和必须精确为 100%,最多可添加 8 个奖品。示例:50% + 30% + 20% = 100%

- 电脑端(通用)活动规则编辑区 / 移动端活动规则编辑区:文本编辑器,支持插入图片、链接、表格、格式,编写活动规则、奖品说明、参与方式等


- 操作列表:
- 「是否启动」:禁用(红色) / 启用(绿色)
- 「是否自动发放」:否(红色) / 是(绿色)
- 「操作」:
- 编辑:点击后修改完成,点击「确定」即可保存。
- 删除:点击后,弹出提示 确认此操作?,「确定」执行 / 点击「取消」放弃操作。
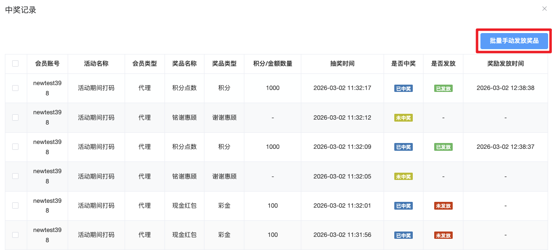
- 中奖记录:点击后跳出「中奖记录」弹窗可详细查看,会员帐号、奖品 等资讯。
- 右上角可点击「批量手动发放奖品」,勾选已中奖后尚未发放选择。选择完毕点击后将跳出提示弹窗「确认此操作?」,点击「确定」执行 ,点击「取消」放弃操作

- 会员资格:点击后跳出「会员资格列表」弹窗可详细查看,会员帐号、资格总数量 等资讯。
奖品管理

- 奖品名称:(模糊搜索)如 红包
- 是否启用:(下拉)是 / 否
- 奖品类型:(下拉)全部 / 彩金 / 实物 / 谢谢意愿 / 积分 / 再来一次 / 宝箱奖品
- 新增
功能
点击「
」弹出「新增奖品」窗口,需填写资讯
- 奖品名称:自定义(如 红包)
- 是否启用:(下拉)启用 / 禁用
- 奖品类型:(下拉)彩金、实物、谢谢惠顾、积分、再来一次、宝箱奖品
- 奖品图片地址:可点击选择图片,如未有图片上传图片
- 奖品描述:(选填)可叙述奖品价值 等


- 操作列表:
- 「是否启动」:禁用(红色) / 启用(绿色)
- 「操作」:
- 编辑图标「
」:点击后修改完成,点击「确定」即可保存。 - 删除图标「
」:点击后,弹出提示 确认此操作?,「确定」执行 / 点击「取消」放弃操作。
- 编辑图标「
转盘活动管理
转盘活动会员资格

- 时间筛选
- 快速筛选:提供预设选项,如“今日”、“昨日”、“本周”、“前一天”、“前一月”等,便于一键选择。
- 手动输入:支持自定义时间区间,例如输入起始日期和结束日期进行精确查询。
- 活动名称:支持模糊查询,(如 测测)
- 会员账号:支持模糊查询,(如 newtest)
- 批量赠送活动资格
功能
点击「
」弹出「赠送活动资格」窗口,需填写资讯
- 选择活动:(下拉)选择当前有的在线活动
- 赠送资格类型:(下拉)按照会员名赠送活动资格、按照会员层级赠送活动资格
*根据所选「资格类型」的不同,填写规则会有所差异
- 抽奖次数:整数输入(如 3 次)

- 查看会员资格详情
列表为只读视图,无需额外点击即可看到每条记录的核心信息:
- 资格总数量:系统累计赠送的抽奖次数
- 已使用数量:会员已抽奖消耗的次数
- 未使用数量:当前剩余可抽次数(重点监控项)
- 有效时间:资格过期时间
转盘活动中奖记录

- 时间筛选
- 快速筛选:提供预设选项,如“今日”、“昨日”、“本周”、“前一天”、“前一月”等,便于一键选择。
- 手动输入:支持自定义时间区间,例如输入起始日期和结束日期进行精确查询。
- 活动名称:支持模糊查询,(如 打码)
- 会员账号:輸入正确会员帐号(如 za123456)
- 奖品名称:输入正确奖品名称(如 彩金)
- 是否发放:(下拉)已发放 / 未发放 / 未中奖
- 奖品类型:(下拉)彩金 / 实物 / 谢谢意愿 / 积分 / 再来一次 / 宝箱奖品

- 批量手动发放奖品
功能
操作步骤:
- 在列表左侧勾选需要手动发放的会员(可多选)
- 系统弹出确认窗口,显示:确认此操作?
- 点击「确定」执行锁定 / 点击「取消」放弃操作
- 操作栏位「操作」手动发送,弹出提示 确认此操作?,「确定」执行 / 点击「取消」放弃操作。
宝箱活动管理
宝箱列表

- 时间筛选
- 快速筛选:提供预设选项,如“今日”、“昨日”、“本周”、“前一天”、“前一月”等,便于一键选择。
- 手动输入:支持自定义时间区间,例如输入起始日期和结束日期进行精确查询。
- 宝箱名称:支持模糊查询,(如 宝箱01)
- 是否启用:(下拉)是 / 否
- 新增
功能
点击「
」弹出「新增宝箱」窗口,需填写资讯
- 宝箱名称:自定义(如 充值惊喜盲盒)
- 是否启用:(下拉)是 / 否
- 是否自动发放:(下拉)是 / 否
- 现金奖品打码倍数:输入数值(如1、3、5、10),表示中现金奖需打码倍数
- 移动端编辑 / 独立文本编辑器(可与电脑端内容不同)
- 宝箱图片宝箱图片(移动端):可点击选择图片,如未有图片上传图片
- 支持使用等级:(选填)若未选择表示所有等级都可用
- 支持使用组别:(选填)若未选择全部组别都适用
- 奖品与概率配置:点击「添加奖品」开启「导入奖品」弹窗选择奖品点击「确定」即可。
- 中奖概率(%)填写完成后,可在此自定义该奖品的单次中奖概率(%)。示例:输入 80 表示 80%。
- 所有奖品的概率总和必须精确为 100%,最多可添加 8 个奖品。示例:50% + 30% + 20% = 100%

- 电脑端(通用)活动规则编辑区 / 移动端活动规则编辑区:文本编辑器,支持插入图片、链接、表格、格式,编写活动规则、奖品说明、参与方式等


- 操作列表:
- 「支持等级」:(“查看等级” 或 “全部应用”)
- 「支持组别」:(“查看组别” 或 ”具体分组”)
- 「是否启动」:禁用(红色) / 启用(绿色)
- 「是否自动发放」:否(红色) / 是(绿色)
- 「操作」:
- 编辑:点击后修改完成,点击「确定」即可保存。
- 删除:点击后,弹出提示 确认此操作?,「确定」执行 / 点击「取消」放弃操作。
会员持有宝箱

- 时间筛选
- 快速筛选:提供预设选项,如“今日”、“昨日”、“本周”、“前一天”、“前一月”等,便于一键选择。
- 手动输入:支持自定义时间区间,例如输入起始日期和结束日期进行精确查询。
- 宝箱名称:支持模糊查询,(如 惊喜)
- 会员账号:支持模糊查询,(如 newtest)
- 批量赠送宝箱
功能
点击「
」弹出「赠送宝箱」窗口,需填写资讯
- 赠送类型:(下拉)按照会员名赠送宝箱 / 按照会员层级赠送宝箱
- 会员帐号(等级)集合:根据“赠送类型”的选择,会员账号填写规则会有所不同
- 选择宝箱:(下拉)选择当前宝箱列表活动
- 宝箱与数量配置:选择配置宝箱数量(如 6)

宝箱活动中奖记录
待开发中
存款赠送活动策略

- 时间筛选
- 快速筛选:提供预设选项,如“今日”、“昨日”、“本周”、“前一天”、“前一月”等,便于一键选择。
- 手动输入:支持自定义时间区间,例如输入起始日期和结束日期进行精确查询。
- 全部存款类型:(下拉)全部 / 在线支付 / 银行卡转账 / 快速入款 / 虚拟币转账 / 挂单充值plus / GOPay钱包 等
- 全部赠送方式:(下拉)全部 / 固定金额 / 浮动比例
- 全部赠送类型:(下拉)全部 / 彩金 / 积分
- 新增
功能
点击「
」弹出「添加存款赠送活动」窗口,需填写资讯
- 存款类型:(下拉)在线支付 / 银行卡转账 / 快速入款 / 虚拟币转账 / 挂单充值plus / GOPay钱包 等
- 赠送方式:(下拉)固定金额 / 浮动比例
- 赠送类型:(下拉)彩金 / 积分
- 赠送条件:(下拉)每次充值 / 历史首充 / 每日首充 / 当前存款类型首充 / 历史第二次充值/ 历史第三次充值 / 历史前两次充值 / 历史前三次充值
- 赠送比例:如 80%
- 赠送上限:填写0表示不限制
- 充值金额大于等于:如 500
- 充值金额小于等于:如 5000
- 赠送金额所需打码倍数:如 10
- 充值金额是否需要打码量:(下拉)需要 / 不需要
- 开始日期 / 结束日期:选择策略生效开始时间与失效时间
- 支持使用等级:(选填)若未选择表示所有等级都可用
- 支持使用组别:(选填)若未选择全部组别都适用
- 备注:(选填)便于后台人员查看


- 操作列表:
- 「限制等级」:(“查看等级” 或 “全部应用”)
- 「支持组别」:(“查看组别” 或 ”具体分组”)
- 「状态」:禁用(红色) / 启用(绿色)
- 「操作」:
- 编辑图标「
」:点击后修改完成,点击「确定」即可保存。 - 删除图标「
」:点击后,弹出提示 确认此操作?,「确定」执行 / 点击「取消」放弃操作。
- 编辑图标「
滚动中奖数据

- 用户名: 输入正确用户名
- 全部类型:(下拉)全部类型 / 红包中奖数据 / 彩票中奖数据 / 电子游戏盈利 / 棋牌盈利 / 真人盈利 / 体育盈利
- 随机生成虚拟数据
功能
点击「
」弹出「新增随机数据」窗口,需填写资讯
- 随机条数:输入数值(如1、3、5、10)
- 中奖开始日期 / 中奖结束日期:选择开始时间与结束时间
- 中奖类型:(下拉)红包中奖数据 / 彩票中奖数据 / 电子游戏盈利 / 棋牌盈利 / 真人盈利 / 体育盈利
- 随机金额区间:输入数值(如100-1000)
- 奖品名称:未填写则随机生成

- 新增
功能
点击「
」弹出「新增中奖数据」窗口,需填写资讯
- 用户名:输入正确用户名(如 刘昊然)
- 中奖日期:选择中奖日期
- 中奖类型:(下拉)红包中奖数据 / 彩票中奖数据 / 电子游戏盈利 / 棋牌盈利 / 真人盈利 / 体育盈利
- 金额:输入数值(如 66)
- 奖品名称:未填写则随机生成


- 批量删除
功能
操作步骤:
在列表左侧勾选需要删除的记录(可多选)
- 点击「批量删除」按钮,系统弹出确认窗口,显示:确认此操作?
- 点击「确定」执行锁定 / 点击「取消」放弃操作

- 操作列表:
「操作」:
- 编辑图标「
」:点击后修改完成,点击「确定」即可保存。 - 删除图标「
」:点击后,弹出提示 确认此操作?,「确定」执行 / 点击「取消」放弃操作。
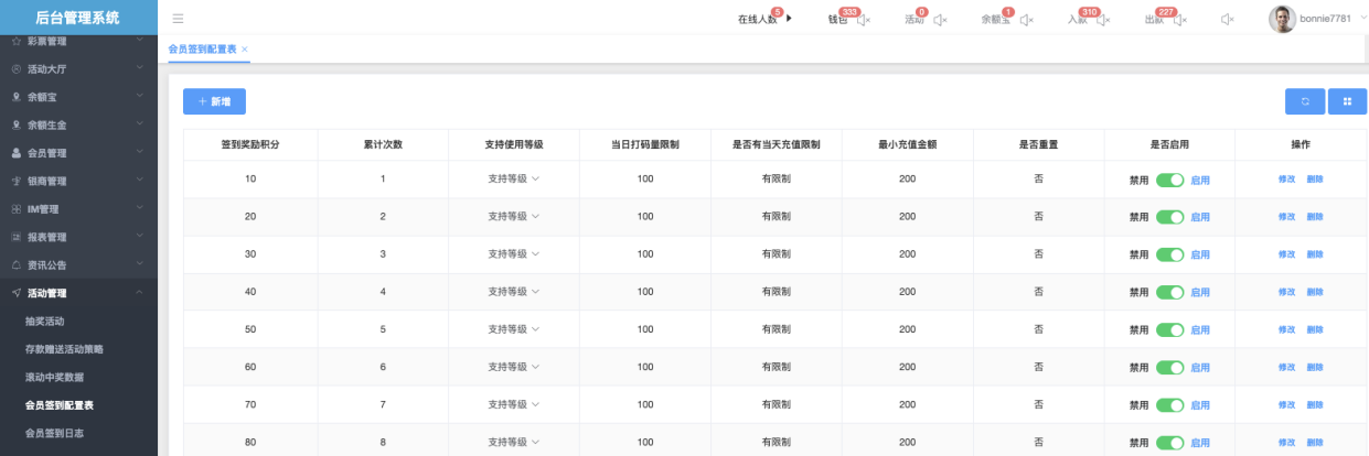
会员签到配置表

签到配置列表表格
- 签到奖励积分
- 累计次数(触发该奖励所需的连续签到天数)
- 支持使用等级(“支持等级”或具体等级)
- 当日打码量限制(数值,0表示无限制)
- 是否有当天充值限制(有限制 / 没有限制)
- 最小充值金额(有充值限制时显示)
- 是否重置(是 / 否,表示达到累计次数后是否重置计数)
- 是否启用:禁用(红色) / 启用(绿色)
- 操作(修改 / 删除)
- 编辑:点击后修改完成,点击「确定」即可保存。
- 删除:点击后,弹出提示 确认此操作?,「确定」执行 / 点击「取消」放弃操作。
新增
功能
点击「
」弹出「新增会员签到配置」窗口,需填写资讯
- 累计次数:正整数,表示连续签到达到该天数时触发奖励(如 1、3)
- 奖励积分:正整数,签到达到累计次数时奖励的积分数量
- 当日打码量限制:正整数,签到当日需完成的打码量;0 表示不限制打码量
- 是否有当天充值限制:需要当天有充值 / 不限制
- *如选择「需要当天有充值」则需多填写,最小充值金额:正数金额(如 100、200)
- 支持使用等级:全不选表示所有等级都不可用
- 签到天数达到后是否重置:重置 / 不重置
- 是否启用:(下拉)启用 / 禁用

会员签到日志

- 时间筛选
- 快速筛选:提供预设选项,如“今日”、“昨日”、“本周”、“前一天”、“前一月”等,便于一键选择。
- 手动输入:支持自定义时间区间,例如输入起始日期和结束日期进行精确查询。
- 会员账号:正确输入会员帐号查询(如 newtest398)
查看签到详情
每行记录直接显示核心信息:
- 会员账号:签到会员
- 连续签到天数:当天累计连续签到天数(用于阶梯奖励判断)
- 奖励积分:根据配置表规则当日发放的积分数量
- 签到时间:精确到秒的签到时刻
会员积分兑换记录

- 时间筛选
- 快速筛选:提供预设选项,如“今日”、“昨日”、“本周”、“前一天”、“前一月”等,便于一键选择。
- 手动输入:支持自定义时间区间,例如输入起始日期和结束日期进行精确查询。
- 会员账号:正确输入会员帐号查询(如 newtest398)
- 全部类型:(下拉)全部类型 / 积分兑换 / 会员签到 / 人工添加 / 人工扣除 / 人工加赠送 / 人工扣款扣除 / 充值赠送 / 充值回滚 / 重置积分 / 大转盘抽奖
- 加减积分
功能
点击「
」弹出「加减积分」窗口,需填写资讯
- 操作类型:(下拉)添加积分 / 扣减积分
- 会员账号:支持多帐号,用逗号分隔或空格分隔
- 积分:输入正整数(添加时填正数,如 100;扣减时填正数,系统自动转为负数)
- 操作理由:(选填)便于后台人员查看

会员积分兑换

- 兑换配置名称:输入正确配置名称(如 签到积分兑换1)
- 新增
功能
点击「
」弹出「新增积分兑换配置」窗口,需填写资讯
- 配置名称:自定义,为前台显示
- 兑换比例:
- 「积分 : 现金」 比例
- 左侧积分数(整数,如100),右侧现金数(可小数,如1),示例:100:1 表示100积分换1元
- 单次兑换最小值:正整数,单次兑换最低积分数量(如100)
- 单次兑换最大值:正整数,单次兑换最高积分数量(如1000)需大于等于最小值
- 打码倍数:正整数或0,兑换现金后需完成的打码量0 表示不要求打码
- 站点状态:(下拉)启用 / 禁用

积分兑换配置列表表格
- 配置名称
- 兑换比例(积分 : 现金,如 100:1)
- 单次兑换最小值
- 单次兑换最大值
- 打码倍数(兑换现金需完成的打码量)
- 是否启用:禁用(红色) / 启用(绿色)
- 操作(修改 / 删除)
- 编辑:点击后修改完成,点击「确定」即可保存。
- 删除:点击后,弹出提示 确认此操作?,「确定」执行 / 点击「取消」放弃操作。
红包管理

页面主要作用:用于创建、配置和管理平台内的现金红包抢购/抽奖活动(例如 亿元现金红包免费抢活动)。管理员可设置活动基本信息、虚拟数据模拟、抽奖规则、会员分组限制、红包雨/抢包资格门槛等。页面支持启用/禁用活动、设置金额范围、倍数、IP限制,以及多档奖励梯度配置。
逐项功能说明与操作步骤
- 活动名称
- 功能概要:定义本次红包活动的显示名称,前台用户可见,用于宣传。
- 操作步骤:
- 在「活动名称」输入框中填写,例如:亿元现金红包免费抢,最高8888
- 名称吸引眼球、包含关键金额/福利,长度适中。
- 保存时系统会校验是否为空。
- 活动时间
- 功能概要:设置活动开始和结束时间,过期后活动自动关闭。
- 操作步骤:
- 点击开始时间日历图标,选择日期时间(如2025-01-00:00:00)。
- 点击结束时间日历图标,选择结束日期时间(如2027-09-30 23:59:59)。
- 时间范围需大于当前时间,否则活动无法启用。
- 注意:结束时间建议设置为23:59:59,便于整天统计。
- 启用 / 禁用 开关
- 功能概要:控制活动是否在前台显示和可参与。
- 操作步骤:
- 点击后系统弹出确认窗口,显示:确认此操作?
- 切换 “启用/禁用” 开关为 “启用”(绿色)。
- 若需暂停活动,切换为 “禁用”(灰色)。
- 禁用后前台隐藏,数据仍保留,可随时重新启用。
- 是否生成虚拟中奖数据
- 功能概要:开启后系统自动生成模拟中奖记录,用于前台显示 “热闹” 效果(防止冷启动无人中奖)。
- 操作步骤:
- 切换开关为「启用」。
- 结合下面最小 / 最大虚拟金额使用。
- 最小虚拟中奖金额 / 最大虚拟中奖金额
- 功能概要:控制虚拟中奖记录的金额范围,避免出现不合理数值。
- 操作步骤:
- 在「最小虚拟中奖金额」输入框填入数值(如8)。
- 在「最大虚拟中奖金额」输入框填入数值(如18888)。
- 数值需为正数,最小值 ≤ 最大值。
*最小值设低(如1~10),最大值设高但不超过真实红包上限,增加真实感。
- 奖金倍数
- 功能概要:控制中奖金额相对于某基准的放大倍数。
- 操作步骤:
- 在「奖金倍数」输入框填入整数(如10)。
- 表示中奖金额 = 基准金额 × 倍数。
- IP限制次数
- 功能概要:防止同一IP刷红包/抽奖,限制单个IP可参与次数。
- 操作步骤:
- 在“*IP限制次数”输入框填入数值(如99999)。
- 填99999基本无限制;填较小值(如5~10)用于严格防刷。
*0表示完全禁止重复IP。
- 计算周期
- 功能概要:选择抽奖触发方式和统计周期。
- 操作步骤:
- 下拉框选择 每天统计、实时统计。
说明:
- 每天统计-会员的抽奖次数按满足最大达标金额指标的抽奖次数所得,不会累计!
- 实时统计-会员的抽奖次数按满足达标金额指标的抽奖次数累计所得!
- 支持使用等级
- 功能概要:勾选允许参与活动的会员等级。
- 操作步骤:
- 勾选需要的等级,如vip1、vip3、vip5、vip10、报损层、刷水层等。
- 全不选 = 所有等级都可参与。
- 支持使用组别
- 功能概要:限定活动仅某些测试分组或特定分组会员可见/可参与。
- 操作步骤:
- 勾选如“brayant测试分组1”、“bonnietest”等。
- 全不选 = 所有分组均可。
- 指标内容
- 功能概要:设置多档充值 / 达标金额对应的红包奖励规则(最核心部分)。
- 表格字段说明:
- 达标金额:会员需达到的累计充值金额。
- 最小中奖金额 / 最大中奖金额:该档位红包随机范围。
- 抽奖次数:达到该档位赠送的红包抽奖次数。
- 操作步骤:
- 点击「+」添加一行规则。
- 示例填写:
- 达标金额:500.00 → 最小1.88 / 最大38.88 → 抽奖10次
- 达标金额:1000.00 → 最小2.88 / 最大58.88 → 抽奖10次
- 可添加多行,形成阶梯奖励(金额越高奖励越好)。
- 点击「-」删除某行。
- 保存后立即生效。
- 活动规则描述 编辑器
- 功能概要:前台活动页面的详细规则说明,支持富文本格式(字体、颜色、图片等)。
- 操作步骤:
- 在编辑框输入活动细则,如参与方式、开奖时间、中奖说明、客服联系等。
- 使用工具栏调整格式(加粗、颜色、插入图片)。
- 写清楚:活动时间、达标规则、红包到账方式、客服处理流程。
- 底部可插入宣传语或注意事项。
活动奖励记录

- 时间筛选
- 快速筛选:提供预设选项,如“今日”、“昨日”、“本周”、“前一天”、“前一月”等,便于一键选择。
- 手动输入:支持自定义时间区间,例如输入起始日期和结束日期进行精确查询。
- 会员帐号:输入正确会员帐号,(如newtest398)用于精确查询。

- 导出
功能
操作方式: 点击「导出」按钮后,会弹出选择菜单:
- 导出全部 → 导出符合当前筛选条件的全部数据
- 导出当页 → 仅导出当前页面显示的数据
数据表格主要列说明
- 活动名称:奖励来自哪个活动(如 “亿元现金红包免费抢,最高8888”)
- 会员账号:获得奖励的会员ID
- 优惠类型:目前均为「现金」
- 优惠金额:实际发放的金额(如 14.9、37.6等)
- 请求IP:会员领取时的IP地址
- 创建时间:奖励生成具体时间
抢红包资格管理

- 时间筛选
- 快速筛选:提供预设选项,如“今日”、“昨日”、“本周”、“前一天”、“前一月”等,便于一键选择。
- 手动输入:支持自定义时间区间,例如输入起始日期和结束日期进行精确查询。
- 会员帐号:输入正确会员帐号,(如newtest398)用于精确查询。
- 按会会员赠送抢红包资格
功能
点击「
」弹出「赠送会员抢红包资格」窗口,需填写资讯
- 会员账号:输入一个或多个账号,用逗号或空格分隔(如newtest398, newtest399)
- 抢包所属日期:填写资格所属日期
- 最小中奖金额:单次抽取下限(如 20)
- 最大中奖金额:单次抽取上限(如 66)
- 抽奖次数:赠送的次数(如 3)
- 点击「确定」 → 系统批量发放,完成后可在表格看到新记录。
- 点击「取消」放弃。

- 按层级赠送抢红包资格
功能
点击「
」弹出「赠送会员抢红包资格」窗口,需填写资讯
- 会员层级:勾选要赠送的等级(如vip1、vip5、vip10、报损层等)。可多选。
- 全不选 = 不限制等级(所有会员都发,慎用!)
- 抢包所属日期:填写资格所属日期
- 最小中奖金额:单次抽取下限(如 20)
- 最大中奖金额:单次抽取上限(如 66)
- 抽奖次数:赠送的次数(如 3)
- 点击「确定」→ 系统根据勾选等级,批量为符合条件的会员创建资格记录


- 导出 功能
操作方式: 点击「导出」按钮后,会弹出选择菜单:
- 导出全部 → 导出符合当前筛选条件的全部数据
- 导出当页 → 仅导出当前页面显示的数据
注册赠送彩金手机号

- 手机号:输入完整手机号(如 13365209567)
- 是否注册:(下拉)已注册 / 未注册
- 新增
功能
点击「
」弹出「批量添加注册赠送彩金手机号」窗口,需填写资讯
- 加款模式:(下拉)自定义金额、固定金额
- 手机号:
- 选择「自定义金额」,每行一条 → 手机号,金额(用逗号或空格分隔)
- 选择「固定金额」,每行或用逗号/空格分隔,只填手机号
- 金额:写赠送金额(如 200)*选择「固定金额」模式才需填写这栏位。
- 打码量倍数:打码倍数(默认1)
- 备注:(选填)用于后台人员查看



- 删除
功能
操作步骤:
在列表左侧勾选需要删除的记录(可多选)
- 点击「删除」按钮,系统弹出确认窗口,显示:确认此操作?
- 点击「确定」执行锁定 / 点击「取消」放弃操作