Appearance
系统管理
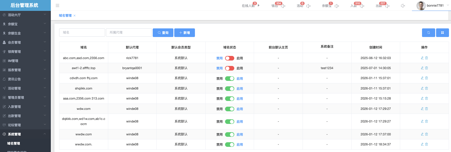
域名管理

这个页面用于统一管理和维护平台支持的所有绑定域名。管理员可以在这里添加新域名、设置每个域名的默认代理、默认会员类型、前台首页、状态(启用/禁用),以及系统备注。
- 域名:输入绑定的完整域名(如 123.com 345.com 345com)
- 所属代理:输入完整域名(如 newtest398)
- 新增
功能
点击「
」弹出「绑定域名」窗口,需填写资讯
- 域名 → 必填,支持批量输入(用空格或逗号分隔多个域名,如 123.com 345.com 345com)
- 默认代理 → 必填,输入关联的代理账号(如 newtest398)
- 默认会员类型 → (下拉)选择会员、代理(当前选项为“系统默认”)
- 前台默认主页 → (选填),填写跳转的首页路径(留空则默认首页)
- 系统备注 → (选填),填写内部说明
- 底部:【取消】 / 【确定】 保存后立即生效


- 操作列表:
- 「域名状态」:禁用(红色) / 启用(绿色)
- 「操作」
- 修改:点击后修改完成,点击「确定」即可保存。
- 删除:点击后,弹出提示 确认此操作?,「确定」执行 / 点击「取消」放弃操作。
网站基本设定

这个页面是平台最核心的全局基础参数配置中心,用于设置整个网站的名称、域名展示、注册规则、IP限制、邀请码规则、APP下载链接等基础信息。这些设置直接影响前端用户看到的网站信息、注册流程、访问限制、推广行为等,是运营上线、渠道推广、风控调整时最常修改的页面。
页面顶部有多个横向Tab:系统配置、存取款配置、站点配置、登录注册配置、彩票配置、IM配置、私密设置、论坛配置、GOPAY配置、机器人配置、货币配置、接口风险配置
*以下点击右侧蓝色「文字」/「数值」 → 进入编辑模式,直接输入或修改内容,对于开关类选项 → 点击可切换「启用」 / 「禁用」或「是」/ 「否」状态。
系統配置
网站基础信息
- 网站名称:盛发科技8
→ 前端标题、LOGO旁显示的站点名称
- 网站落地页域名:landing-awt1-landing.sffffc.top/...
→ 实际解析并提供服务的后台域名
→ 前端用户看到的「官方域名」列表
- 网站主域名:https://test1.sffffc.top
→ 主站域名,用于链接生成、跳转等
【后台截图】

【前台截图 - Web版】

⚠️ 特别说明: 此为系统核心域名设定,影响范围包括推广链接生成、页面跳转、邀请码链接等。
- APP下载地址:https://www.google.com/
- APP二维码地址:https://www.qianming006.live:5713/j4Eq5E
- APP下载地址(固定的):https://jump-qnyd.youdou.mobi/…….
→ 推广/防封专用固定下载入口
【后台截图】

【前台截图 - Web版】

⚠️ 特别说明: 此为固定下载地址,专为推广及防封场景设计,与「APP下载地址」字段不同。
注册与风控规则
- 默认注册账户类型:代理
→ 新用户注册后默认身份(影响权限与返佣)
【后台截图】

【前台截图 - Web版 / H5版】

⚠️特别说明: 无论后台将此设定切换为「会员」或「代理」,前台注册页面的外观样式不会有任何变化,用户看到的注册界面完全相同。差异仅体现在注册完成后,系统内部对该账户的类型归类。
- 注册路径:/#/pages/register/register
→ 前台注册页面的 URL 路径,决定用户访问注册页时的网址
【后台截图】

【前台截图】

⚠️ 特别说明: 此路径决定前台注册页面的访问地址。若路径修改,原有注册链接将失效。
- 默认单IP注册限制:3
→ 单个IP最多允许注册账号数(防刷注册)
【后台截图】

【前台截图 - Web版 / H5版】


⚠️ 特别说明: 当同一IP注册数量达到上限后,前台注册页面顶部将自动弹出提示文字。
- 默认单IP注册限制提示语:ip超过限制注册个数123
→ 超限时前端弹窗提示文字
【后台截图】

【前台截图 - Web版 / H5版】


⚠️ 特别说明: 此提示语与「默认单IP注册限制」连动,提示语内容可自由修改,修改后前台弹窗文字即时更新。Web版与H5版均会显示此提示,样式略有不同(Web版显示于顶部,H5版显示于底部)。
- 默认单IP注册试玩每天限制:2
→ IP每日试玩账号上限
【后台截图】

【前台截图 - Web版 / H5版】


⚠️ 特别说明: 此限制针对「游客试玩」功能,与一般注册限制分开计算。当同一IP当日试玩注册次数达到上限。
- 默认注册邀请码长度:8
→ 系统自动生成邀请码的位数
【后台截图】

【前台截图 - Web版 / H5版】


⚠️ 特别说明: 此设定决定系统自动生成邀请码的位数,建议设定范围为4~8位。修改后仅影响新生成的邀请码,已存在的邀请码长度不受影响。邀请码可于前台「代理中心 → 下级开户 → 链接管理」页面查看。
- 默认单用户生成邀请码最大个数:5
→ 每个用户最多能生成多少个邀请码

【前台截图 - Web版 / H5版】


⚠️ 特别说明: 当用户生成的邀请码数量达到上限后,继续新增时前台将弹出提示「推广码个数超过了最大限制」。
代理与返水设置
- 默认 真人 / 电子 / 棋牌 最大返点比例:0.20
→ 各类游戏默认最高返水比例
【后台截图】

【前台截图 - Web版 / H5版】

⚠️ 特别说明:
此设置用于决定新生成下级账户时的初始最大返点比例上限。
特别注意:
- 这个设置仅影响新开户时系统自动赋予的下级账户返点比例。
- 页面上显示的返点比例,是该账户当前实际拥有的返点比例。
- 一旦账户已经生成,其返点比例就已固定。即使后续修改后台的「默认最大返点比例」,已生成账户的返点比例也不会改变。
- 开启三方反水扣除代理返点:启用
- 是否开启三方自动反水:启用
- 会员返水策略中开启给代理的逐级返水:启用
- 是否开启自动「代理」返点 / 自动「上级代理」返点:启用
→ 代理层级返点 / 返水是否自动计算发放
⚠️ 特别说明:此为后台逻辑控制开关,调整后不影响前台页面显示,效果体现在系统内部返水计算逻辑,无对应前台截图。
活动与福利开关
- 是否开启「抢红包活动入口」 / 「幸运大转盘活动入口」:启用
→ 前端是否显示红包/转盘入口
⚠️ 「幸运大转盘活动入口」
备注:此开关目前不影响前台显示,无论设定为「启用」或「禁用」,前台幸运大转盘入口均不受控制
【后台截图】

【前台截图 - Web版 / H5版】


⚠️ 特别说明: 设定为「启用」时,前台Web版左下角及H5版左下角均会显示红包入口图示;设定为「禁用」时,该图示将从前台完全隐藏。
- 会员签到规则:
<p style="text-align: center;"> <span style="background-color: #4BACC6; font-size: 16px;">每天存款50元即可开始签到啊啊啊啊...
→ 签到奖励说明(支持HTML样式)
【后台截图】

【前台截图 - Web版 / H5版】

⚠️ 特别说明: 此字段内容支持 HTML 样式语法,可自定义文字颜色、大小、排版等。
- 是否开启注册赠送手机号:启用
【后台截图】

【前台截图 - Web版 / H5版】

⚠️ 特别说明:
设定为「启用」时,前台注册页面会显示「手机号」栏位(Web版与H5版均会显示),用户注册时可直接输入手机号完成注册。
前提条件:
必须先在 (系统管理-注册选项设定) 中将「手机」选项开启,否则该功能无法生效。设定为「禁用」时,前台注册页面的「手机号」栏位将隐藏。
必须先行在 (活动管理-注册赠送彩金手机) 中新增对应的电话号码,否则无法进行赠送操作。
- 是否开启代理开户:启用
【后台截图】

【前台截图 - Web版 / H5版】


⚠️ 特别说明: 设定为「启用」时,代理可于前台「精准开户」页面直接建立下级账户,Web版与H5版均显示此功能;设定为「禁用」时,精准开户入口将隐藏。
- 代理开户每小时最大数量:10000
→ 代理拉人速度上限
【后台截图】

【前台截图】

⚠️ 特别说明:
当代理在1小时内开户数量达到或超过此上限时,前台会立即弹出黄色提示框:「代理开户超过每小时限制数量」,并暂停该代理继续开户的操作。
- 代理可开户账户类型设置:可开设 [会员]、[代理] 账户类型的下级
→ 代理能发展的下级类型
【后台截图】

【前台截图】


⚠️ 特别说明:
设定不同选项时,前台「下级开户」页面的显示效果会完全不同:
- 当设定为 「不能开设任何账户类型的下级」 时,前台将直接显示「暂无权限,请联系客服!」画面,代理无法进行任何开户操作。
- 当设定为 「只能开设[会员]账户类型的下级」 时,前台只会显示「会员开户」选项,「代理开户」按钮将被隐藏。
- 是否允许修改银行卡:是
→ 用户是否能自行更改绑卡
【后台截图】

【前台截图 - Web版 / H5版】


⚠️ 特别说明: 设定为「是」时,用户可于前台自行解除银行卡绑定;设定为「否」时,「解除绑定」按钮将隐藏。
余额宝 / 余生 / 俸禄规则
- 是否开启余额宝:是
【后台截图】

【前台截图 - Web版 / H5版】

⚠️ 特别说明:
此设定为余额宝功能的总开关,设定为「是」时,前台「用户中心」菜单中会显示「余额宝」入口,点击后可进入余额宝主页查看总金额、收益、转账等功能。
若设定为「否」,则前台完全隐藏余额宝所有相关入口和页面,玩家在用户中心菜单中将看不到「余额宝」选项。
- 余额宝「收益」/「转入」/「转出」是否需要审批:否
【后台截图】

【前台截图】

⚠️ 特别说明:
这三个设定用于控制余额宝的具体操作是否需要后台人工审批,只有在「是否开启余额宝」设为「是」时才会生效。
当设定为 「是」 时:
- 用户在前台提交转出申请后,该笔转出不会立即到账,而是进入「审批中」状态。
- 此时后台管理员需前往 (余额宝 → 余额宝管理 → 审批记录) 进行审核,可选择「通过」或「失败」。
只有后台审核通过后,资金才会实际转出至用户中心钱包。
- 余额宝结算模式是否为小时模式:否
(控制余额宝收益的结算频率与复利计算时间)
【后台截图】

【前台截图 - Web版 / H5版】


⚠️ 特别说明:
此设定用于控制余额宝收益的结算频率与复利计算时机,仅在「是否开启余额宝」设为「是」时生效。
两种模式的区别:
- 设定为「否」(默认每日模式):
- 收益在每天凌晨2点统一结算并发放到余额宝余额,
- 次日进行复利计算。
- 前台产品说明会显示:「会员获得的收益在每天凌晨2点结算并发放后会加到余额宝余额,次日进行复利计算。」
- 设定为「是」(小时模式):
- 收益在每小时结算并发放到余额宝余额,
- 下一小时进行复利计算。
- 前台产品说明会改为:「会员获得的收益在每小时结算并发放后会加到余额宝余额,下一小时进行复利计算。」
关键位置提醒:
在 H5版 中,「产品说明」区域位于页面右上角里面(或总览页面下方偏右的位置),里面会显示结算相关说明文字。
- 余额宝冻结后玩家操作的提示语:无配置
【后台截图】

【前台截图】

⚠️ 特别说明:
此设定为全局默认提示语,功能有效。
- 当此处输入具体文字内容时:所有被冻结的余额宝账户,在前台提交转入、转出等操作时,都会显示你在此处输入的自定义提示文字。
- 当后台为「无配置」时:系统会统一显示默认提示 「余额宝已被冻结,操作失败」。
- 如需对单一用户进行个性化提示:可在 (余额宝管理-余额宝钱包-冻结提示语) 中针对特定用户单独编辑提示语。此时该用户会看到单独设置的提示内容,其他用户仍按此处全局配置显示。
- 是否开启「周俸禄」 / 「月俸禄」:是
【后台截图】

⚠️ 特别说明:
此设定为周俸禄与月俸禄的总开关,前台无法直接看到展示效果(不会出现明显开关或按钮)。
当设定为「是」时:
若用户达到相应俸禄条件,系统会自动发放周俸禄或月俸禄,并通过站内短信通知用户。
当设定为「否」时:
系统不会发放周俸禄或月俸禄,也不会发送相关通知。
补充说明:
- 发放记录可在 (会员管理-会员俸禄记录) 中查看周俸禄与月俸禄的详细记录。
- 俸禄发放的达成条件与等级规则设置于 (会员管理-会员等级管理)。
- 优惠活动显示风格:按照分组名称展示
【后台截图】

【前台截图】

⚠️ 特别说明:
此设定用于控制前台「活动中心」页面的活动显示顺序与分组方式。
- 按照分组名称展示(当前设定):
- 活动会按照后台设置的「活动分组名称」进行分类并展示,同一组的活动会集中在一起。
- 按照活动时间显示(默认):
- 活动会按照活动开始/结束时间顺序排列显示。
补充说明:活动的分组顺序与分组名称由 (会员活动配置-活动分组名称) 决定。
报表与查询范围
- 三方注单记录可查询时间范围(天):30
【后台截图】

【前台截图 - Web版】

【前台截图 - H5版】

⚠️ 特别说明:
此设定用于限制前台用户在「投注记录」中三方注单记录可查询的历史时间范围,单位为天。
- 当前设定为 30天,表示用户最多只能查询最近30天内的投注记录。
- 前台特别说明:后台设定值为多少天,则前台的日期选择器就会自动锁定在该范围内,用户无法选择超出设定天数的日期区间。
- 此限制适用于四种类型:真人视讯、棋牌娱乐、电子游艺、体育电竞的投注记录,统一受此时间范围控制。
- 在 H5版 中,当用户选择超出范围的日期时,页面会直接显示黑色提示条「抱歉,只能查询近30天记录」,并可能出现「加载失败」提示,无法正常加载数据。
注意:
此设定仅影响前台「三方注单记录」的查询范围,与「个人报表」「团队报表」的时间范围相互独立。此为纯前台显示与查询限制设定,不影响后台实际数据存储。
- 个人报表可查询时间范围(天):60
【后台截图】

【前台截图 - Web版 / H5版】


⚠️ 特别说明:
- 此设定用于限制前台用户(会员)在个人报表、个人总览等页面可查询的历史记录时间范围,单位为天。
- 当前设定为 60天,表示用户最多只能查询最近60天内的个人报表记录。
- 若用户尝试查询超过60天的记录,系统会自动限制,并在前台显示提示:「抱歉,只能查询近60天记录」。
- 团队报表可查询时间范围(天):20
【后台截图】

【前台截图 - Web版 / H5版】


⚠️ 特别说明:
此设定用于限制代理在前台「团队报表」页面可查询的历史记录时间范围,单位为天。
- 当前设定为 20天,表示代理最多只能查询最近20天内的团队报表数据。
- 前台特别说明:后台设定值为多少天,前台的日期选择器就会自动锁定在该范围内,用户无法选择超出设定天数的日期区间。
其他开关
- 充提记录按处理状态排序:禁用
【后台截图】

设定为「启用」时:
- 后台「网站充值记录」列表会自动按照「状态」栏位进行排序(例如:未处理 → 处理中 → 充值成功 → 充值失败),方便管理员优先处理待办事项。

- 设定为「禁用」时:
列表将按照系统默认顺序显示(通常为申请时间由新到旧),不会按处理状态自动排序。

⚠️ 特别说明:
此设定仅与后台相关,与前台用户页面完全无关,仅影响后台管理员查看「网站充值记录」时的列表排序方式。
注意:
此功能是专门响应后台人员操作「财务管理-网站充值记录」页面的排序逻辑。前台会员的充值记录页面不受此设定影响。
- 后台手动加款最大金额:5000
【后台截图】


⚠️ 特别说明:
此设定仅与后台相关,与前台用户页面完全无关,仅影响后台管理员的操作。
- 当前设定为 5000 元,表示后台管理员在「财务管理-会员加扣款」页面进行人工加款时,单次加款金额不得超过5000元。
- 当输入金额超过此限制时,系统会弹出提示:「超过后台手动加款最大金额」,并阻止提交。
- 此限制仅针对「人工加款」操作,对人工扣款无影响。
- 用户绑定「多张银行卡限制」 / 「多个钱包限制」:5 / 3
【后台截图】-多张银行卡限制

【前台截图】


【后台截图】-多个钱包限制

【前台截图】


⚠️ 特别说明:
用户绑定多张银行卡限制 与 用户绑定多个钱包限制 是两个独立的设定,作用范围不同:
- 用户绑定多张银行卡限制(当前设定为 5):
- 此设定专门限制银行卡转账分类,每位用户最多只能绑定 5 张银行卡。
- 当前用户已绑定 1 张时,前台会显示提示:「您已绑定 1 张银行卡,一共可以绑定 5 张银行卡。」
- 当达到绑定上限后,「增加绑定」按钮将无法点击或隐藏。
- 用户绑定多个钱包限制(当前设定为 3):
- 此设定用于限制每个单一钱包类型最多可绑定的数量(并非所有钱包加起来总数量)。
- 同一个钱包类型(例如 GOPay钱包、USDT、支付宝、微信、JD钱包等)最多只能绑定 3 个。
- 当用户尝试在同一类型下绑定第 4 个时,前台会提示:「绑定该类型提现钱包数量超过限制,绑定失败」。
- 不同钱包类型之间互不影响,可分别绑定各自上限。
- 是否开启试玩:开启
【后台截图】

【前台截图 - Web版 / H5版】


⚠️ 特别说明:
此设定为试玩功能的总开关。
- 当设定为 「开启」 时:
前台首页顶部会显示「游客试玩」按钮,登录页面也会显示「免费试玩」入口,用户无需注册即可进入试玩模式。
- 当设定为 「关闭」 时:
前台将完全隐藏「游客试玩」和「免费试玩」相关入口,用户无法看到试玩功能。
- 试玩额度:1000
【后台截图】

【前台截图 - Web版 / H5版】


⚠️ 特别说明:
此设定用于控制试玩账号(游客试玩)初始可使用的余额金额。
- 当前设定为 1000 元,表示新进入试玩模式的账号,系统会自动赋予 1000 元试玩额度。
- 前台无论在 Web 版还是 H5 版,试玩账号的「余额」都会显示为此设定值。
- 此额度仅限试玩账号使用,正式注册的会员账号不受此设定影响。
- 若「是否开启试玩」设定为「关闭」,则此试玩额度设定将不会生效。
- 是否开启余额生津:禁用
此功能对应(余额生津-余额生津管理-策略管理)若该策略未开启,在于系统管理开启也是无效果。需量边同时开启才能起效应
- 是否开启签到:启用
【后台截图】

【前台截图 - Web版 / H5版】


⚠️ 特别说明:
此设定为每日签到功能的总开关。
- 当设定为 「启用」 时:
前台Web版首页和H5版底部导航栏都会显示「签到」入口,用户可以每天进行签到领取奖励。
- 当设定为 「禁用」 时:
前台将完全隐藏「签到」按钮和相关入口,用户无法看到签到功能。
- 多个账户使用同一张银行卡:关闭
【后台截图】

【前台截图 - Web版 / H5版】


存取款配置
提现基本限额与时间
- 提款最低金额:178
【后台截图】

【前台截图 - Web版 / H5版】


⚠️ 特别说明:
此设定用于控制会员单笔提现的最低金额门槛。
- 前台无论在 Web 版还是 H5 版,提现页面均会显示「单笔提现限额:178 - 100000 元」。
- 若会员输入金额低于此设定值,系统将拒绝提现申请并显示提示:
- Web版:「您输入的提款金额小于最低限额」。
- H5版:「金额不能低于178」。
- 提款「开始」时间 / 「结束」时间:无配置(即全天可提)
【后台截图】

【前台截图】

⚠️ 特别说明:
此设定用于控制会员每日可进行提现操作的时间段。
- 当前设定为 12:00 - 13:00,表示会员仅能在此时间范围内提交提现申请。
- 若会员在非提款时间内尝试提现,系统将提示「不在可提现时间范围内!提现时间为 12:00-13:00」。
- 若未配置提款开始/结束时间,则全天 24 小时均可提款。
- 提款最高金额:55555
【后台截图】

【前台截图 - Web版 / H5版】


⚠️ 特别说明:
此设定用于控制会员单笔提现的最高金额上限。
- 当前设定为 55555 元,表示会员每次提现金额不得高于 55555 元。
- 前台无论在 Web 版还是 H5 版,提现页面均会显示「单笔提现限额:178 - 55555 元」。
- 若会员输入金额超过此设定值,系统将拒绝提现申请并显示提示:
- Web版:「您输入的提款金额大于最低限额」。
- H5版:「金额不能大于55555」。
- 每天提款次数限制:20
- 每天提款次数限制,是否包含失败的:否
- 每天免提直充次数限制:10
- 每天提款次数限制,是否包含免提直充的:否
各支付方式提现限额
- 银行卡提款「最低」金额:8 / 「最高」金额:66666
【后台截图】

【前台截图 - Web版 / H5版】


⚠️ 特别说明:
此设定专门用于控制「银行卡转账提现」方式的单笔金额范围,与全局提款最低/最高金额设定相互独立。但需注意两者之间的优先规则:
- 若银行卡提款最低金额低于全局提款最低金额,则实际最低限额以全局设定为准。(例:全局最低设为 100 元,银行卡最低设为 50 元,则前台实际显示最低限额为 100 元)
- 若银行卡提款最高金额高于全局提款最高金额,则实际最高限额以全局设定为准。
- 支付宝提款「最低」金额:2 / 「最高」金额:40000
【后台截图】

【前台截图 - Web版 / H5版】


⚠️ 特别说明:
此设定专门用于控制「支付宝提现」方式的单笔金额范围,与全局提款最低/最高金额设定相互独立。但需注意两者之间的优先规则:
- 若支付宝提款最低金额低于全局提款最低金额,则实际最低限额以全局设定为准。(例:全局最低设为 100 元,支付宝最低设为 50 元,则前台实际显示最低限额为 100 元)
- 若支付宝提款最高金额高于全局提款最高金额,则实际最高限额以全局设定为准。
- 微信提款「最低」金额:300 / 「最高」金额:300000
【后台截图】

【前台截图 - Web版 / H5版】


⚠️ 特别说明:
此设定专门用于控制「微信提现」方式的单笔金额范围,与全局提款最低/最高金额设定相互独立。但需注意两者之间的优先规则:
- 若微信提款最低金额低于全局提款最低金额,则实际最低限额以全局设定为准。(例:全局最低设为 100 元,微信最低设为 50 元,则前台实际显示最低限额为 100 元)
- 若微信提款最高金额高于全局提款最高金额,则实际最高限额以全局设定为准。
免提直充规则
- 免提直充提款「最低」金额:100 / 「最高」金额:333333
【后台截图】

【前台截图 - Web版 / H5版】


⚠️ 特别说明:
此设定专门用于控制会员勾选「免提直充」时的单笔提现金额范围。实际生效的限额会依以下优先顺序比对:
- 首先比对免提直充设定与当前提现方式(银行卡)的金额限制,取较严格的值。
- 再将上述结果与全局提款最低/最高金额比对,同样取较严格的值作为最终生效限额。
- (例最低:免提直充最低设为 299 元,银行卡最低设为 8 元,全局最低设为 1 元,则最终生效最低限额为 299 元)
- (例最高:免提直充最高设为 333333 元,银行卡最高设为 800 元,全局最高设为 100000 元,则最终生效最高限额为 1000000 元)
- 是否开启免提直冲:是
【后台截图】

【前台截图 - Web版 / H5版】


⚠️ 特别说明:
此设定用于控制前台提现页面是否显示「免提直充」功能选项。
- 当前设定为是,表示前台 Web 版及 H5 版的提现页面均会显示「免提直充」选项,会员可自行勾选使用。
- 若设定为否,则前台提现页面将隐藏「免提直充」功能按钮,会员将无法使用此功能。
- 是否开启免提直充无需审批:是
【后台截图】

【后台截图 - 网站提款记录】

【前台截图】

⚠️ 特别说明:
此设定用于控制会员使用「免提直充」方式提现时,是否需要经过人工审核。
- 当前设定为是,表示会员使用免提直充提现后,系统将自动处理,无需人工审批,提现流程更快速。
- 若设定为否,则会员的免提直充提现申请需由人工至后台「财务管理 → 网站提款记录」进行批审,会员端提现记录状态将显示为「未处理」,待审核完成后状态才会更新。
注意:
此设定须在「是否开启免提直充」设定为是的前提下才会生效。
充值与订单处理规则
- 存款未处理记录失效时间(分钟):15
- 充值订单可回滚时间:6
【后台截图】

【后台截图 - 网站充值记录】

⚠️ 特别说明:
此设定用于控制后台人员对充值订单执行「回滚」操作的有效时间窗口。
- 当前设定为 6 分钟,表示充值订单完成后,后台人员仅有 6 分钟内可至「财务管理 → 网站充值记录」操作列执行回滚。
- 超过设定时间后,该订单的「回滚」按钮将无法操作,无法再对该笔充值进行回滚。
- 在线支付 / 银行卡转账 / 扫码支付 / 虚拟币转账 每天未处理的充值订单数量最大值:5
- 后台充值补单金额最大值:200000
- 三方额度「转入」 / 「转出」最小值:1 / 最大值:1000000
- 三方额度转入余额要求:任意
- 后台提示与声音设置
- 后台充值提示声音路径:https://minio.../2107e279cab04a2498ea602d0c5aedbc.mp3
- 后台提款提示声音路径:https://minio.../0361d66835ab42e1adb579d57514d07b.mp3
- 审核提现钱包提示声音路径:https://zh-minio.../687b3bd8abac4a9f810e78eb9d8bee81.mp3
- 活动大厅申请提示声音路径:https://minio.../bcf143a9f727455a990232adfdc9c133.mp3
- 后台声音提示间隔时间(秒):10
- 查询与记录范围
- 充值记录可查询时间范围(天):60
- 账变记录可查询时间范围(天):60
- 提现记录可查询时间范围(天):60
- 挂单业务与特殊权限
- 挂单提款赠送百分比比例:4(即4%)
- 是否自动化处理挂单业务:是
- 挂单充值是否需要卖方接受:是
- 挂单处理进度提醒类型:站内信弹窗提醒(不做提醒、站内信普通提醒)
- 挂单提现是否收取提现手续费:否
- 是否开启推广账号充值无需审批:是
- 是否开启推广账号提现无需审批:是
- 其他资金规则
- 充值是否需要绑定银行卡或钱包:是
- 余额宝是否需要完成打码:是
- 代理转账:是
- 提现站内信通知:无配置
- 不支持回调的在线支付平台:AAAA
- 是否支付回调需要IP白名单:否
站点配置
- 访问与黑名单控制
- 前台访问黑名单:启用
→ 是否开启全局访问黑名单功能(限制特定IP / 地区 / 设备访问前台)
- 是否站点禁止在「微信」/「QQ」打开:是
→ 是否屏蔽微信/QQ内置浏览器访问(防封链或强制用外部浏览器)
- 是否脱敏展示前台数据信息:是
→ 前端是否隐藏/模糊敏感数据(如 余额、用户名部分字符)
- 前台禁止特殊地区访问:启用
→ 是否开启地区黑名单(如 某些国家 / 省份禁止访问)
- 客服与引导地址
→ 前端点击“客服”跳转的官方在线客服链接
- qq客服地址:test.xyq.cc1, test.xyq.cc2, test.xyq.cc3, test.xyq.cc4, test.xyq.cc5
→ 客服链接轮询或备用域名(防单一域名失效)
- APP下载与奖励展示
- H5下载APP奖励图片:adasd.com
→ H5页面下载APP时的奖励展示图
- PC下载APP奖励图片:-replaceCdn-|/app/h5_download_app_reward_img/yongli.png
→ PC端下载APP奖励展示图
- 首页滚动中奖展示
首页滚动最小中奖金额:无配置
首页滚动最大中奖金额:无配置
- → 控制首页假/真中奖滚动条显示的金额范围(无配置通常不显示或默认值)
每日生成首页中奖数据数量:20
- → 每天自动生成多少条中奖记录用于首页滚动展示
- 投注与游戏权限关闭提示语
- 彩票期数限制投注提示语:本期暂不允许投注详情请联系在线客服
- 彩票期数非允许投注提示语:特级代理已开启专属投注通道,非特级代理指定下级会员名单暂时无法投注当期!
- 「彩票」/「真人」/「电子」/「棋牌」/「体育」 投注权限关闭提示语:网络状况不佳,加速连接中
→ 对应游戏类别关闭时的统一前端提示
- 玩家游戏被禁用提示语(包括彩票):无配置
- 玩家游戏「转入」/「转出」被禁用提示语:操作失败,官方系统维护「转入」/「转出」
- 其他权限关闭提示语
- 「存款」权限关闭提示语:您没有存款权限,请联系在线客服
- 「代理」权限关闭提示语:您没有代理权限,请联系在线客服
- 「取款」权限关闭提示语:您没有取款权限,请联系在线客服
- 「IM」权限关闭提示语:您没有IM权限,请联系在线客服
- 「幸运大转盘抽奖」关闭提示语:您没有大转盘权限,请联系在线客服
- 「IM红包领取」权限关闭提示语:无配置
- 安全与邀请码设置
- 安全码配置:111,A,B,C,D,222
→ 可能用于某些安全验证或加密密钥配置
- 邀请码是否随机生成:否
→ 邀请码是否系统随机产生(否=固定或手动生成)
- 活动大厅地址
- 活动办理大厅地址:https://www.baidu.com/
→ 前端「活动大厅」跳转链接(可替换为实际活动页)
登录注册配置
- 登录安全与错误限制
- 登录错误多少次需要「验证码」:100
→ 连续登录失败多少次后强制弹出验证码
- 登录错误多少次将「锁定账号」:100
→ 连续失败多少次后账号被临时锁定
- 登录错误锁定账号时间:5(分钟)
→ 锁定持续时间(单位通常为分钟)
- 登录补全错误次数:3
→ 登录补全(补全真实姓名等)失败多少次后触发锁定
- 登录补全错误锁定账号时间:1(分钟)
→ 补全失败后的锁定时间
- 账户命名与校验规则
- 账户名称是否禁止带有符号:是
→ 注册账号不允许包含特殊符号(如@#$%等)
- 账户名称是否必须字母开头:是
→ 账号必须以字母开头(防纯数字账号)
- 手机号是否采用大陆强校验(中国手机号码):是
→ 注册手机号严格校验为中国大陆格式(11位,1开头)
- 前台真实姓名黑名单生效方式:注册和登录时都生效
→ 真实姓名黑名单在注册和登录两个环节均校验(可下拉选择其他条件)
- 推广码与注册方式
- 是否以账号作为推广码:否
→ 推广码不直接使用注册账号
- 默认推广码:无配置
→ 系统默认推广码(空=无默认)
- 登录补全项设定:真实姓名补全(可下拉选择其他条件)
→ 登录时强制补全的项目(当前为真实姓名)
- 注册账号类型:6-16位数字或字母(默认注册方式)(可下拉选择其他条件)
→ 账号长度与格式限制
- 账户禁用/锁定提示语
- 账户禁用提示语:密码多次错误,账户已被禁用,请联系客服
→ 账号永久禁用时的前端提示
- 账户锁定提示语:账户还在锁定期内,请等会再试哦
→ 临时锁定时的前端提示
- 注册通知与触发器
- 会员或代理注册站内信通知(内容为空,不发送通知):恭喜,注册成功
→ 注册成功后发送的站内信内容(当前内容为空=不发送)
- 注册站内信是否以弹窗的形式通知:是
→ 注册成功通知是否用弹窗显示
- 登录补全校验触发器:不需要触发
→ 登录补全是否强制触发(当前不强制)
彩票配置
- 投注处理与自动逻辑
- 彩票投注当期截止后处理风格:自动投注到下一期,需要用户确认
→ 当期截止后未开奖的注单如何处理(自动顺延下一期,但需用户手动确认)
- 查询与记录范围
彩票注单记录可查询时间范围(天):9000
→ 用户/代理/后台可查询彩票投注记录的最长天数
- 返点与奖金全局设置
- 是否允许彩票投注,代理实时返水:是
→ 代理是否实时享受彩票投注返水
- 默认彩票最大返点比例:7.5
→ 彩票类游戏默认最高返点百分比
- 默认彩票最大奖金组:970
→ 彩票奖金组上限(影响最大赔率计算)
- 默认彩票最大返水-奖金单位:20
→ 返水与奖金计算的单位基准(常见为20元/注)
- 投注校验与限制
- 彩票投注最大码数校验类型:强校验
→ 投注号码/码数是否严格校验
- 彩票单期最大投注金额:{}(当前为空或未设置)
→ 单期投注总额上限({}表示未配置或动态值)
- 投注预警金额:10000
→ 单注或单期投注达到此金额时触发后台预警/审核
- 显示与交互功能
- 彩票是否显示路子图:是
→ 前端是否显示彩票路子图
- 彩票是否显示路长龙:否
→ 前端是否显示长龙提示
- 是否统一为最大赔率:否
→ 是否强制所有玩法统一使用最大赔率(否=支持自定义赔率)
- 追号、撤单与金额单位
- 彩票最大追号期数:105
→ 用户单次可追号的最大期数
- 是否允许彩票撤单:是
→ 用户是否可在开奖前撤单
- 彩票下注金额单位模式:元角分模式
→ 投注金额显示与计算单位(元/角/分)
IM配置
- IM基础服务与地址
- 是否开启IM:开启
→ 平台是否启用内置即时聊天功能
→ 主IM服务接入地址
- IM地址(多个以英文逗号分割):test.cc1,test.cc2,test.cc3
→ 备用/负载均衡IM域名列表
- 好友添加与关系规则
- 是否开启好友添加功能:开启
- 是否可任意添加好友:是
- 是否可添加直接「上级」 / 「直接下级」 / 「上级」 / 「下级」:是
- 是否可自定义好友添加规则:是
- 是否开启自动添加默认好友/群组(注册 / 登录):是
- 是否开启自动添加上级为好友(注册 / 登录):是
- 聊天频率与内容限制
- 聊天频率模式:不限制 / 固定间隔30
- 聊天频率单位间隔(条数/时间):3/120
→ 每120秒最多发3条(防刷屏)
- 字数限制:50000
- IM初始创建群组最大发言长度:50000
- IM初始创建群成员最大发言长度:50000
- 红包功能设置
- 是否开启红包功能:开启
- 群组红包是否只有群管理可用:否
- IM红包功能是否推广可用:否
- IM红包功能默认所有人可用(则黑名单中的不可用):是
- IM红包功能是否需要有提现才可用:否
- IM红包功能默认所有人不可用(则白名单中的可用):否
- IM红包单次发送最大个数:500
- IM红包单个红包最大金额:500
- IM红包手气最大金额系数:五分之一
- IM红包领取时打码量的倍数:5
- 显示与隐私设置
- IM是否显示完整账号:是
- 是否允许非好友关系查看群成员信息:是
- 我的代理显示类型:显示直接代理
- 我的下级显示类型:显示直接下级
- 群管理员是否能查看非好友的账户:是
- IM是否打开跟投成功的提示(群组):以群组设置为准
- IM是否打开红包领取成功的提示(群组):以群组设置为准
- 排行榜与盈利显示
- IM排行榜盈利显示最小金额(大于等于):1
- IM排行榜显示条数:50
- im战绩分享盈利最小金额限制(元):-10000
- 昵称与消息编辑
- IM昵称最大长度:16
- IM昵称是否唯一:是
- im可编辑消息账号id列表:76724,76723,78099
→ 指定账号ID可编辑已发消息
- 内容风控与通知
- 敏感词过滤运用范围:私/群聊都运用
- 敏感词过滤运用的vip等级范围:无配置
- 群主移除群成员是否消息提示:否
私密设置
- 后台登录与安全校验
- 后台登录白名单:禁用
→ 是否开启后台IP白名单限制
- 是否开启签名校验:否
- 是否开启谷歌校验:否
- 认证签名有效时长(秒):999999
- 不做签名校验的接口名称:无配置
- 登录不需要验证码的账号:york002
- 会员登录爆破检测:否
- 账户与密码规则
- 账户名称是否忽略大小写:否
- 账户密码是否忽略大小写:是
- 站点与域名配置
- 我们的前台域名:http://test1.sffffc.top
- 我们的后台域名:https://test1-admin.sffffc.top
- 支付回调域名(指定) / 代付回调域名(指定):无配置
- 公共数据站点域名:http://gdl74tfh01a.shya1688.com
- 站点标识:测试
- 主站code / 子站code:无配置
- 同步彩种code:K3_30SEC_59,SSC_49
- 三方支付与额度
- 站点费率类型:「对外」默认的三方平台可用额度临界值0
- 支持的提现类型:银行卡转账(subName:123123123, is_enable:1)、GOPay钱包等(JSON格式配置)
- 系统彩与开奖规则
- 系统彩可调最小中奖比例:30
- 系统彩开奖次数:101
- 是否提前开:否
- 系统彩杀率浮动因子:0.03
- 验证码与图库
- 前台验证码类型:扭曲干扰验证码(Google)
- 自有验证码类型:文字点选Z滑块(captchaId、secretId、secretKey 已配置)
- 图库接口网关:https://49208.com/unite49
- 图库搜索按钮:澳门六合彩、香港六合彩等(JSON配置)
- TG通知与机器人
- TG通知聊天id:-4520835296
- TG系统风险通知chat_id:-1002317982814
- TG机器人token:bot8169613095:AAFgzyCtLvuIlYqomNqQn4mziuOUBCOcNpo
- IM与消息存储
- im单个群最大保存消息数量:10000
- im群成员保留最大数量:7999
- im私聊1v1最大保存消息数量:122
- im私聊好友最大保存数量:188
- im最近好友会话数量:100
- im最近群组会话最大数量:100
- 导出与数据权限
- 用户信息最大导出条数限制:5000
- 用户信息(包含联系方式)最大导出条数限制:10000
- 导出数据分批查询分页条数:5000
- 绑定的提现钱包是否需要审核:是
- 其他风控与通知
- api安全ip:125.162.157.118,52.196.236.99,54.249.130.131,61.28.172.77
- 默认支持游戏类型:lottery,realman,chess
- 彩票类型显示风格:按照彩种所属大类显示
- 总在线人数base:10000
- 论坛支持的彩种:幸运六合彩、三分动物彩等(JSON配置)
- 是否自动刷新后台token:是
- 后台token过期时间:30
- 提现成功 / 失败站内信「标题」/「内容」:无配置
论坛配置
- 发帖与评论黑白名单控制
- 论坛发帖黑白名单:黑名单不可发帖
→ 发帖黑名单用户无法发布任何帖子(白名单用户豁免常规限制)
- 论坛评论回复黑白名单:黑名单不可评论回复
→ 评论/回复黑名单用户无法发表任何评论或回复(白名单用户豁免常规限制)
- 首页资料推荐显示规则
- 首页资料推荐最多查看最近多少期(0为不限制):50
→ 首页显示的“资料推荐”或“心水资料”最多拉取最近多少期内容(0=无限制,全历史显示)
- 帖子与评论内容长度限制
- 论坛帖子预览字数:19
→ 论坛列表页帖子内容预览显示的最大字数
- 评论 / 回复最大字数,0为不限制:16
→ 用户单条评论或回复允许的最多字数
- 评论 / 回复最小字数,0为不限制:11
→ 用户单条评论或回复必须达到的最少字数
GOPAY类配置
- 挂单提现通用限额
- 挂单提款最低金额:20
- 挂单提款最高金额:100000
- 挂单提现plus最低金额:10
- 挂单提现plus最高金额:1000
- 主流第三方钱包提现限额
- GoPay提款最低金额:1 / 最高金额:99999999
- OkPay提款最低金额:1 / 最高金额:99999999
- ToPay提款最低金额:100 / 最高金额:40000
- CgPay提款最低金额:1 / 最高金额:99999999988
- 88Pay提款最低金额:1 / 最高金额:99999999
- FPay提款最低金额:1 / 最高金额:6678
- K豆钱包提款最低金额:200 / 最高金额:1000
- AgPay钱包提款最低金额:1 / 最高金额:999999
- 万币钱包提款最低金额:300 / 最高金额:9999999
- ABPay钱包提款最低金额:10 / 最高金额:1000
- GdPay钱包提款最低金额:2 / 最高金额:999998
- AgneiPay钱包提款最低金额:3 / 最高金额:99997
- EbPay钱包提款最低金额:1 / 最高金额:999666
- TgPay钱包提款最低金额:1 / 最高金额:999998
- MPay钱包提款最低金额:1 / 最高金额:999666
- 易币付钱包提款最低金额:11 / 最高金额:991112
- VipPay钱包提款最低金额:5 / 最高金额:999999
- C币钱包提款最低金额:3 / 最高金额:999999
- BbPay钱包提款最低金额:2 / 最高金额:999999
- OPay钱包提款最低金额:3 / 最高金额:999999
- 柚子钱包提款最低金额:1 / 最高金额:999999
- AiPay钱包提款最低金额:1 / 最高金额:999999
- K宝钱包提款最低金额:1 / 最高金额:999999
- UPay钱包提款最低金额:1 / 最高金额:999999
- 波币钱包提款最低金额:1 / 最高金额:999999
- No钱包提款最低金额:10 / 最高金额:5000
- 其他常见钱包提现限额(部分示例)
- 568Pay钱包提款最低金额:1 / 最高金额:999999
- EB2Pay钱包提款最低金额:1 / 最高金额:999999
- 钱能钱包提款最低金额:1 / 最高金额:999999
- JJPay钱包提款最低金额:1 / 最高金额:999999
- 欧币钱包提款最低金额:1 / 最高金额:999999
- 808钱包提款最低金额:1 / 最高金额:999999
- JD钱包提款最低金额:1 / 最高金额:999999
- CFB钱包提款最低金额:1 / 最高金额:999999
- 购宝钱包提款最低金额:1 / 最高金额:999999
- OEPAY钱包提款最低金额:1 / 最高金额:999999
- GDPAY钱包(内)提款最低金额:22 / 最高金额:999955
- VIPPAY钱包(内)提款最低金额:1 / 最高金额:999999
- KKPAY钱包提款最低金额:1 / 最高金额:999999
- 77Pay钱包提款最低金额:1 / 最高金额:10000
- IPAY钱包提款最低金额:9 / 最高金额:999666
- 欧付宝(内)钱包提款最低金额:1 / 最高金额:999966
- 秒付钱包提款最低金额:2 / 最高金额:5000
- 988PAY钱包2提款最低金额:200 / 最高金额:1000
- QTPAY钱包提款最低金额:100 / 最高金额:2222
- 币趣钱包提款最低金额:30 / 最高金额:1666
- 365钱包提款最低金额:10 / 最高金额:7777
- M币钱包提款最低金额:1 / 最高金额:666699
- U钱包提款最低金额:100 / 最高金额:10000
- UPAY(内)钱包提款最低金额:1 / 最高金额:999999
- 98Pay钱包提款最低金额:1 / 最高金额:999999
- 99Pay钱包提款最低金额:1 / 最高金额:999999
- 24CoinPay钱包提款最低金额:1 / 最高金额:999999
- AaPay钱包提款最低金额:10 / 最高金额:1000
- 波币(内)钱包提款最低金额:1 / 最高金额:1000
- 支付宝钱包提款最低金额:10 / 最高金额:1000
- 特殊渠道提现限额(示例)
- 588pay钱包提款最低金额:10 / 最高金额:100
- 纷享钱包提款最低金额:10 / 最高金额:1000
- no钱包usdt提款最低金额:10 / 最高金额:1000
- SPay钱包提款最低金额:10 / 最高金额:1000
- FPay(内)钱包提款最低金额:10 / 最高金额:1000
- 234钱包提款最低金额:10 / 最高金额:1000
- 纷享生活快捷钱包提款最低金额:10 / 最高金额:1000
- 红豆钱包提款最低金额:9 / 最高金额:6656
- ABAPay钱包提款最低金额:10 / 最高金额:1000
- XPay钱包提款最低金额:10 / 最高金额:1000
- 云钱包提款最低金额:10 / 最高金额:1000
- ONEPay钱包提款最低金额:10 / 最高金额:1000
- PGPay钱包提款最低金额:10 / 最高金额:1000
- 77Pay直连钱包提款最低金额:3 / 最高金额:3000
- 77Pay扫码钱包提款最低金额:1 / 最高金额:2000
机器人配置
- TG机器人基本接入信息
- TG机器人ID:bryantQA_bot
→ 平台绑定的Telegram机器人用户名(以_bot结尾),用于标识机器人身份。前端或后台调用机器人API时需使用此ID。
- TG机器人Token:无配置
→ Telegram BotFather发放的机器人Token,是机器人API认证密钥。无配置表示当前未启用机器人功能或Token未绑定。
- 通知消息接收设置
- 通知消息接收群ID:无配置
→ 指定TG群组的Chat ID(数字ID,如-1001234567890),所有系统通知将推送至此群组。无配置表示通知未开启或未指定接收目标。
货币类配置
- USDT汇率与限额
- USDT汇率使用方式:充值、提现-->固定汇率
→ 当前USDT采用固定汇率模式(非实时浮动)
- USDT提款固定汇率(以USDT为单位):7.2
→ 提现时1 USDT固定兑换7.2人民币
- USDT充值固定汇率(以USDT为单位):7.43
→ 充值时1 USDT固定兑换7.43人民币
- USDT提款最低金额:10
→ 单笔USDT提现最低金额
- USDT提款最高金额:100000
→ 单笔USDT提现最高金额
- USDT实时汇率(每十五分钟自动更新):6.86
→ 当前系统抓取的实时汇率(每15分钟刷新一次)
- USDT充值实时汇率浮动值:0.5
→ 充值时实时汇率可上下浮动±0.5(例如6.86 ±0.5)
- USDT提款实时汇率浮动值:0.6
→ 提现时实时汇率可上下浮动±0.6
- 新台币汇率与限额
- 新台币汇率使用方式:充值、提现-->固定汇率
→ 当前新台币采用固定汇率模式
- 新台币提款固定汇率(以人民币为单位):4.5
→ 提现时1人民币固定兑换4.5新台币
- 新台币入款固定汇率(以人民币为单位):5.5
→ 充值时1人民币固定兑换5.5新台币
- 新台币实时汇率(每十五分钟自动更新):4.57
→ 当前系统抓取的新台币实时汇率(每15分钟刷新)
- 新台币实时汇率浮动值:0
→ 实时汇率无浮动(固定使用抓取值)
- 新台币提款最低金额(以人民币为单位):5
→ 单笔新台币提现最低金额(折合人民币)
- 新台币提款最高金额(以人民币为单位):999
→ 单笔新台币提现最高金额(折合人民币)
接口风险配置
- 登录风险监控规则
- 登录风险监控规则-时间间隔:5(分钟)
→ 监控周期长度:在连续5分钟内统计登录尝试次数,超出阈值触发风控
- 登录风险监控规则-单IP次数:30
→ 单个IP在监控周期(5分钟)内最多允许的登录尝试次数,超过即触发风险(如弹出验证码、临时限制登录)
- 登录风险监控规则-总次数:30
→ 全局(全平台)在监控周期内累计的登录尝试次数上限,超过即全站触发高级风控(如加强验证码、通知管理员)
注册选项设定

表格各列含义
属性名称:字段中文名(例如“邀请码”“手机号”“真实姓名”“QQ”“微信”“邮箱”“验证码”)
- 显示:该字段是否在前台注册页面可见
- 绿色“启用”开关 → 显示在注册表单中
- 红色“禁用”开关 → 不显示(隐藏该字段)
- 必须:是否为必填项
- 绿色“启用”开关 → 用户必须填写,否则无法提交注册
- 红色“禁用”开关 → 非必填,可留空
- 验证:是否开启格式/内容验证
- 绿色“启用”开关 → 开启验证(如手机号11位格式、邮箱@校验)
- 红色“禁用”开关 → 不校验格式,直接接受输入
- 唯一:是否要求全平台唯一
- 绿色“启用”开关 → 该字段值全局唯一(例如手机号/邮箱不能重复注册)
- 红色“禁用”开关 → 允许重复
- 序号:字段在注册表单中的垂直排列顺序(数字越小越靠上)
- 提示语:输入框内的占位文字(灰色提示,如“注册邀请码”、“手机号”、“真实姓名”、“QQ号”、“常用邮箱”、“请输入验证码”)
- 红点提示:字段旁是否显示红色感叹号或小红点(用于视觉强调必填或重要)
- 操作:每行右侧的蓝色编辑图标「
」,点击可修改该字段所有配置
网页页面设定

指定域名关联配置 
弹窗表格字段含义
- 配置:下拉选择要绑定的配置模板(如001、002、003...对应不同配置组,例如充值页面配置001、线上存款类型002等)
不能为空,必须先选择一个配置模板
- PC:PC端域名输入框
→ 填写PC端使用的域名(如www.abc.com、pc.domain.com),多个域名用空格/逗号分隔
- H5:移动H5端域名输入框
→ 填写H5端使用的域名(如m.abc.com、h5.domain.com),多个域名用空格/逗号分隔
- 备注:内部说明输入框
→ 可填写该绑定的用途(如“代理A专属域名”“测试落地页”“防封备用”)

充值页配置
这些设置直接决定用户在充值页面看到哪些支付入口(如银行转账、扫码支付、在线支付、K豆支付等)、每个入口的快捷金额建议、是否显示教程、提示文字,以及是否针对特定VIP或分组开放
列表核心数据
- 复选框(最左列) → 用于批量操作(如 批量启用 / 禁用 、批量修改快捷金额)
- 充值类型:支付方式英文标识(如 bank、qrcode、online、kdoipay等)
- 前台显示名称:用户在充值页面看到的中文名称(如“银行转账”、“扫码支付”、“线上存款”)
- 快捷金额:该支付方式支持的快捷充值金额选项(如 100,300,500,1000,5000等,用户可一键选择)
- 支持分组 / 支持等级:该支付方式是否限制特定会员分组或VIP等级可用(空或全选=所有可用)
- 教程链接/标题:充值时是否显示教程(如“默认地址”、“默认标题”)
- 提示语:充值页面该方式的额外说明文字(如 温馨提示:请会员在360秒内完成支付,超过可能失败)
- 是否启用:绿色“启用”开关 → 前端充值页面显示该方式,红色“禁用”开关 → 前端隐藏
- 副标题:该支付方式的额外小标题或备注(如“建议使用三方钱包存款100%”“未设置”)
- 银行卡展示方式:银行转账类专有设置(如“弹窗”)
- 顺序(拖动排序):支付方式在充值页面的排列顺序(可拖拽调整)

各可编辑栏位说明
列表中每个充值类型均有以下八个可配置栏位,各栏位右侧的铅笔图标(
)表示可点击进行编辑:
- 前台显示名称: 设定该充值类型在前台页面上显示给会员看到的名称,例如将「bank」显示为「银行卡转账」。
- 快捷金额: 设定前台充值页面的快捷金额按钮选项,方便会员一键选择常用充值金额。
- 支持分组: 设定该充值类型适用的会员分组,可限制特定分组的会员才能看到或使用该充值方式。
- 支持等级: 设定该充值类型适用的会员等级,可限制特定等级以上的会员才能使用。
- 教程链接/标题: 设定充值教程的说明链接及标题,帮助会员了解该充值方式的操作步骤,默认显示「默认地址/默认标题」。
- 提示语: 设定该充值类型的自定义提示文字,显示于前台充值页面供会员参考。
- 是否启用: 控制该充值类型是否在前台开放,开关为绿色「启用」时会员可见,切换为红色「禁用」时前台隐藏该充值方式。
- 副标题:
- 铅笔图标(
): 点击可编辑该副标题的文字内容。 - 颜色图标(
): 点击可设定该副标题文字的显示颜色。
批量操作:(下拉)批量修改快捷金额、批量启用/禁用
操作步骤:
- 在列表左侧勾选需要删除的记录(可多选)
- 点击「批量修改快捷金额」、「批量启用/禁用」按钮,系统弹出确认窗口,显示:确认此操作?
- 点击「确定」执行 / 点击「取消」放弃操作


提现页配置

设置直接决定用户在提现页面看到哪些提现通道、每个通道的显示名称、是否可用、专属提示、副标题,以及是否对特定VIP或分组开放。是提现界面布局优化、通道排序、会员分层提现、提示语引导、提现转化率提升的核心页面
列表核心数据
- 复选框(最左列) → 用于批量操作(如批量启用/禁用)
- 默认渠道名称:后台内部标识(如“银行卡转账”“GOPay钱包”、“USDT”、“支付宝”“微信”、“挂单提现”、“K豆钱包”、“OKPay钱包”等)
- 前台显示名称:用户在提现页面看到的实际名称(如“银行卡转账”、“GOPay钱包”、“USDT”、“支付宝”、“微信”、“挂单提现”等)
- 是否启用:绿色“启用”开关 → 前端提现页面显示该通道
- 红色“禁用”开关 → 前端隐藏该通道
- 支持分组 / 支持等级:该提现方式是否限制特定会员分组或VIP等级可用(空或全选=所有可用)
- 副标题:该通道的小标题或额外说明(如“1231293123”“未设置”“建议使用三方钱包提现”)
- 提示语:提现页面该通道的引导文字或温馨提示(如“安全有保障”)
- 顺序(拖动排序):该提现方式在提现页面的排列顺序(可拖拽调整前后位置)

各可编辑栏位说明
列表中每个提现渠道均有以下五个可配置栏位,各栏位右侧的铅笔图标(
)表示可点击进行编辑:
- 前台显示名称: 设定该提现渠道在前台页面显示给会员看到的名称,点击铅笔图标可修改。
- 是否启用: 控制该提现渠道是否在前台开放,开关为绿色「启用」时会员可见,切换为红色「禁用」时前台隐藏该渠道。
- 支持分组: 设定该提现渠道适用的会员分组,可限制特定分组的会员才能使用该渠道,点击
图标可编辑。 - 支持等级: 设定该提现渠道适用的会员等级,可限制特定等级以上的会员才能使用,点击铅笔图标可编辑。
- 副标题:
铅笔图标(
): 点击可编辑该副标题的文字内容。
颜色图标(
): 点击可设定该副标题文字的显示颜色。
批量操作:(下拉)批量修改快捷金额、批量启用/禁用
操作步骤:
- 在列表左侧勾选需要删除的记录(可多选)
- 点击「批量启用/禁用」按钮,系统弹出确认窗口,显示:确认此操作?
- 点击「确定」执行 / 点击「取消」放弃操作

线上存款类型设置

配置决定用户在充值页面能否看到并选择某种线上存款类型、是否对特定VIP等级或会员分组开放,以及这些类型的排列顺序和优先级。是线上充值渠道的总开关、会员分层充值控制、支付类型排序、充值入口维护、渠道启用/禁用管理的核心页面。
- 线上存款类型:支持模糊搜寻(如 网银)
- 币种:(下拉)人民币、台币、USDT
- 全部状态:(下拉)筛选 启用 / 禁用 状态
列表核心数据
- 线上存款类型:支付方式名称(如“网银支付”、“数字人民币”、“银联支付”、“微信”、“QQ支付”、“京东支付”、“USDT(R)”、“支付宝”等)
- 支持使用等级:该类型是否限制特定VIP等级可用(当前均为“全部等级”)
- 支持使用分组:该类型是否限制特定会员分组可用(当前均为“全部组别”)
- 状态:绿色“启用”开关 → 前端充值页面显示并允许使用该类型,红色“禁用”开关 → 前端隐藏该类型,用户无法选择
- 排序:该类型在充值页面的排列顺序(数字越小越靠前显示)
- 创建时间:该类型配置何时创建(如 2018-12-28 17:45:49)
- 最后更新时间:最近一次修改时间
- 操作:
- 编辑图标「
」:点击后弹出「修改线上存款类型」修改完成,点击「确定」即可保存。
页面基础配置

页面主要区块
- 移动端底部菜单单
- 表格列出 首页、购彩、额度转换、聊天、我的 等页面
- 显示名称:(可编辑)、H5/PC/APP端是否显示(勾选框)、排序(可拖动)
备注提示:H5和APP同时支持的菜单只能单选隐藏,单端无法取消隐藏
- 支持的游戏类型配置(分APP/H5端 和 PC端 两张表)
- 游戏类型列表:lottery(彩票)、realman(真人)、chess(棋牌)、elegame(电子)、sports(体育)等
- 每种类型有:游戏类型名称、游戏类型简称、是否启用、是否显示代理返点、开户页是否允许设置返点、下级管理页是否允许设置返点
- 前台返点配置
- 单选:用户返点 / 代理返点 / 上级代理返点
- 首页子菜单
- 功能标识:后台唯一代码(如hotLottery、lottery、credit、realman、elegame、chess、sports、elegameSports、fish)
- 功能名称:前台显示的中文名称(如“热门”“官方”“信用”“真人”“电游”“棋牌”“体育”“电竞”“捕鱼”)
- 是否启用:绿色“启用”开关 → 前端首页显示该子菜单入口
红色“禁用”开关 → 前端隐藏该入口
- 顺序(拖动排序):该子菜单在首页的排列顺序(数字越小越靠前,可拖拽调整)
- 「网络异常」提示配置
- 提示频率:0秒内最多1次(防止频繁弹窗)
- 公告配置
- 基本设定
- 弹窗间隔时间:0小时0分钟
→ 公告弹窗的最小间隔(当前0表示不限制间隔,可随时弹出)
- 移动端公告展示方式:默认展示方式 / 列表-详情展示方式
→ 移动端(H5/APP)公告弹窗的显示风格(当前默认方式)
- 页面打开设定(
- 是否启用(页面打开时):开启 / 关闭(当前开启)
- 是否立即弹出不判断间隔时间(页面打开时):是 / 否(当前否)
- 当弹出时是否更新记录的弹窗时间(页面打开时):更新 / 不更新(当前更新)
- 指定可弹出的页面(H5):全部 / 首页(当前全部)
- 指定可弹出的页面(APP):全部 / 首页(当前全部)
- 指定可弹出的页面(PC):全部 / 首页(当前全部)
- 登录设定(用户登录时是否弹出公告)
- 是否启用(登录时):开启 / 关闭(当前关闭)
- 是否立即弹出不判断间隔(登录时):是 / 否(当前是)
- 当弹出时是否更新记录的弹窗时间(登录时):更新 / 不更新(当前更新)
- 活动大厅配置
- 是否开启活动大厅:是 / 否(当前“是”)
→ 是否启用前端活动大厅入口(大厅入口是否显示,用户是否能进入申请/领取活动)
- 活动申请内容提示文案:test123456
→ 用户在活动大厅申请或领取时显示的提示文字内容(当前为测试文案,可自定义)
- 提示文字的颜色:红色(色块显示)
→ 申请提示文案的字体颜色(当前红色,可通过颜色选择器修改)
- 是否显示温馨提示信息:显示 / 隐藏(当前“显示”)
- 是否显示领取次数信息:显示 / 隐藏(当前“显示”)
- 客服配置
- APP客服链接使用域名模式:固定域名 / 动态域名
备注:仅针对APP,固定域名使用主域名,动态域名自动检测
- 前台修改密码配置
- 登录密码修改显示方式:允许 / 禁止 / 禁止并提示
- 修改「登录密码」提示语:请联系客服修改
- 交易密码修改显示方式:允许 / 禁止 / 禁止并提示
- 修改「交易密码」提示语:请联系客服修改
- 前台修改个人信息配置
修改昵称 / 头像 / 上传头像 / 手机号 显示方式:允许 / 禁止 / 禁止并提示
对应修改提示语(如“不支持修改头像”“请联系客服修改”)
- 代理链接前台显示域名配置
- 代理链接页面提示语
代理链接页面提示语:代理链接页面提示语(当前为默认文字,可自定义)
- 各端域名配置(PC/H5/APP分开配置)
- 电脑网页端PC
- 代理链接域名:(下拉)选择“当前网站域名”或其他选项
- 自定义域名:输入框(如“自定义域名”)
- 电脑网页端PC
→ 用户在PC端分享/打开代理链接时显示的域名(优先当前域名,可自定义替换)
- 移动端网页H5
- 代理链接域名:(下拉)选择“当前网站域名”或其他选项
- 自定义域名:输入框(如“自定义域名”)
- 移动端网页H5
→ H5端(手机浏览器)代理链接显示的域名
- APP端
- 代理链接域名:(下拉)选择“原始域名”或其他选项
- 自定义域名:输入框(如“自定义域名”)
- APP端
→ APP内代理链接跳转或分享时显示的域名(当前优先原始域名)
- 前台分享邀请链接配置
- PC / H5 /APP端 是否显示分享按钮(当前均为“不显示”)
- 通过邀请链接打开注册页时邀请码输入配置
- 自动填充的邀请码模式:可修改邀码 / 不可修改邀码 / 不可修改且显示邀码但仍生效(当前“可修改邀码”)
- 彩票配置
- 彩票分组模式:彩票所属类型 / 自定义分组
- 彩票开奖中效果:随机摇奖动画 / 开奖中“...”文字
- 赔率显示模式:1元模式 / 2元模式
- 优惠活动配置
- 优惠活动加载模式(PC):分页加载 / 下拉加载
- 是否显示「开始」/「发布」时间(当前“显示”)
IM相关配置

页面主要区块
- 聊天页面底部展开功能菜单
- 功能标示:image、order、grade、bet、redpacket、leaderboard
- 功能名称:表格列出发送图片、投注记录/分享、今日成绩、投注、发红包、今日盈利排行榜
- 是否启用:绿色“启用”、红色“禁用”
- 顺序:可拖动调整底部菜单顺序
- 群信息显示配置
- 是否显示群成员人数:所有人可见 / 群主可见 / 管理员可见(当前所有人可见)
- 是否显示群成员列表:所有人可见 / 群主可见 / 管理员可见(当前所有人可见)
- 群成员人数显示方式:真实人数+系统删除 / 真实人数
- 消息大厅配置
- 消息排序方式:消息时间排序 / 未读消息置顶(当前消息时间排序)
- 聊天室消息大厅功能菜单配置
- 功能标识:creategroup、contactsearch
- 功能名称:发起群聊、添加朋友
- 是否启用:绿色“启用”、红色“禁用”
- 顺序:可拖动调整底部菜单顺序(可拖动)
- APP端进入IM方式
- 选择模式:默认弹出、悬浮在右侧 / 嵌入导航底部 / 登录直接显示聊天界面 / 登录直接显示聊天界面(浮窗版)(当前默认弹出、悬浮右侧)
- 用户详情查看完整用户权限配置
- 选择用户身份:所有人可查看 / 好友可查看 / 群成员可查看 / 群管理可查看 / 群主可查看(多选)
- 侧边悬浮“更多注单”的配置
- 是否显示:显示 / 不显示
- 只看管理员分享注单是否默认选中:默认选中 / 默认不选中
- 侧边悬浮“盈利排行榜”配置
- 是否显示:显示 / 不显示
- 按钮名称:今日盈利排行榜
- 页面查看模式:排行页面查看全部 / 排行页面查看当前彩种
- 联系人页面是否显示“我的代理”、“我的下级”
- 我的「代理」 / 我的「下级」:隐藏 / 显示
- 等级显示模式
- 个人聊天显示等级方式:不显示 / 等级数字 / 等级名称
- 群聊天显示等级方式:不显示 / 等级数字 / 等级名称
- 开奖区域配置
- 开奖区域背景颜色:颜色选择器
- 开奖区域点击跳转投注页:关闭 / 开启
- 聊天消息样式配置
- 私聊消息文字颜色 / 群聊普通成员文字颜色 / 群聊群主消息文字颜色 / 群聊管理员消息文字颜色 / 自定义用户标识消息文字颜色:各有「颜色选择器」和“重置”按钮
- 红包显示配置
- 是否显示红包的领取信息(人数):所有人可见 / 群主可见 / 管理员可见
- 是否显示已领取成员列表(人数):所有人可见 / 群主可见 / 管理员可见
- 是否允许发送红包时修改祝福语:允许 / 不允许
- 默认红包祝福语:恭喜发财,大吉大利
- 聊天室跟投配置
- 是否显示跟投按钮:显示 / 不显示
- 是否自动填充跟投金额:是 / 否
- 「跟投消息主」 / 「跟投消息按钮」颜色:颜色选择器和重置
论坛相关配置

- 论坛彩种配置
每行代表论坛支持的一种彩种(如 幸运六合彩、三分动物彩 等)
关键列:
- 彩种标志:后台唯一标识(如 XYLH C、sanfen_DWC)
- 彩种名称:前台显示名称(如“幸运六合彩官方彩”“三分动物官方彩”)
- 是否启用:绿色“启用”开关 → 前端论坛显示该彩种入口
红色“禁用”开关 → 前端隐藏该彩种
- 彩种主题色:颜色选择器(当前绿色勾选表示已设置)
- 彩种开奖区域背景色:颜色选择器(当前空或未设置)
- 顺序(拖动排序):彩种在论坛的排列顺序(数字越小越靠前,可拖动调整)
- 操作:每行右侧编辑图标(铅笔) + 删除图标
- 论坛基础配置
- 是否显示刷新按钮:不显示 / 显示(当前不显示)
→ 论坛页面是否显示“刷新帖子”按钮
- 首页头条显示条数的配:20
→ 论坛首页默认显示的帖子数量上限
- 首页大厅显示条数的配置:5
→ 论坛大厅(或推荐/热门区)默认显示的帖子数量上限
- 新增
功能
点击「
」弹出「新增论坛彩种」窗口,需填写资讯
- 论坛彩种类型:(下拉)选择彩种大类(如 六合彩、动物彩、排列三、六十彩、快三、PK拾、时时彩、PC蛋蛋 等)
→ 选择后下方“论坛彩种”会联动显示该类型下的具体彩种列表
- 论坛彩种:(下拉)选择具体彩种名称(如“幸运六合彩”“澳门六合彩”“三分动物彩”“超幸运六合彩”“台湾六合彩2”等)
→ 不能为空,必须选择一个具体彩种(联动上一步类型)
- 状态:启用 / 禁用(下拉选择,默认“启用”)
→ 新增后是否立即在前台论坛显示该彩种入口
- 彩种主体主题色:颜色选择器(当前绿色勾选表示已选)
→ 该彩种在论坛页面(如标题、边框、背景)的主题色
- 彩种开奖区域背景色:颜色选择器(当前空或未设置)
→ 该彩种开奖结果展示区域的背景颜色

签到配置

签到开关
是否开启签到:绿色“启用”开关 / 红色“禁用”开关(当前启用)
→ 启用:前端显示签到入口,用户可每日签到
→ 禁用:前端隐藏签到功能
会员签到规则编辑区
- 一个完整的富文本编辑器(支持加粗、斜体、颜色、字体大小、对齐、列表、符号等)
当前文案示例(从截图可见):
标题/说明:每天存款50元即可开始签到啊啊啊啊...(带蓝色背景、16px字体、居中)
奖励规则列表:
第一天签到送10积分
第二天签到送20积分
第三天签到送30积分
编辑完成,则在下方点击保存。即可成功保存更新。
后台配置

后台表格配置
- 表格表头展示方式:默认、固定表头。(修改完成后需刷新页面才能生效)
落地页配置

落地页线路中心配置
- 是否启用自定义域名配置:否、 是。(落地页通常是用户访问网站的入口页面)
网站配置列表

本页面用于管理网站各项功能的JSON配置内容,涵盖站点基础信息、浮窗、注册页、三方平台、路由等核心配置项
- 新增
配置
点击「
」按钮,弹出新增配置窗口。
需填写以下三项内容:
- 配置Key(英文唯一标识,不可重复)
- 配置内容(须为合法JSON格式,默认为空 {})
- 以及备注说明(建议填写中文,便于日后识别用途)
- 填写完成后点击「确定」保存。

- 全改
功能
- 点击「
」按钮,将弹出代码编辑窗口,允许一次性覆盖所有配置内容。此操作风险较高,建议仅由技术人员执行,操作前务必备份现有配置。

- 复制站点配置

- 点击「复制站点配置」按钮,可将当前站点的配置方案快速复制至其他站点,适用于多站点需要同步配置的场景。

- 批量删除

勾选列表中需要删除的配置项,点击顶部「批量删除」按钮即可一次性删除多条记录。删除操作不可还原,请谨慎操作。

- 编辑「配置」
- 点击列表操作栏「配置」编辑,可对单条配置内容进行修改,修改完成后点击「确定」生效。


- 「操作」
- 刪除:点击「
」会弹出确认窗口:「确定此操作吗?」可选择【取消】或【确定】。
快捷提示语设定

页面用于管理前台入款与出款失败时,系统自动向会员显示的提示语内容,支持新增、修改、启用/禁用及删除操作。
- 快捷提示语类型:入款失败快捷提示语、出款失败快捷提示语
- 快捷提示语内容(模糊):模糊查询(如 id)
- 是否启用:启用、禁用
- 新增
快捷提示语
点击「
」按钮,弹出新增窗口,需填写以下内容:
- 快捷提示语类型:下拉选择(必填,从下拉选单中选择「入款失败」或「出款失败」)
- 状态:启用、禁用(默认为启用)
- 序号(必填,数字越小排列越靠前)
- 快捷提示语内容(必填,填写实际展示给会员的提示文字)
- 填写完成后点击「确定」保存。


- 操作列表:
- 「状态」:禁用(红色) / 启用(绿色)
- 「操作」
- 修改:点击后修改完成,点击「确定」即可保存。
- 删除:点击后,弹出提示 确认此操作?,「确定」执行 / 点击「取消」放弃操作。
前台黑名单

本页面用于管理被封锁的IP地址,列入黑名单的IP将无法访问前台页面,适用于封锁恶意访问、爬虫或异常流量来源。
- IP地址查询:输入完整IP地址(如 54.251.53.102)
- 新增
黑名单IP
点击「
」按钮,弹出新增窗口,需填写以下内容:
- IP(必填): 支持一次性输入多个IP地址,多个IP之间可使用逗号或空格隔开。
- 备注(选填): 可填写封锁原因或来源说明,便于日后追溯管理。
- 填写完成后点击「确定」保存,所填IP即刻生效进入黑名单。


- 操作列表:
- 「备注内容」:点击后可输入内容。
- 「操作」
- 修改:点击后修改完成,点击「确定」即可保存。
- 删除:点击后,弹出提示 确认此操作?,「确定」执行 / 点击「取消」放弃操作。
前台姓名黑名单

页面用于管理被封锁的真实姓名,列入黑名单的姓名将无法在前台进行注册或绑定实名认证,适用于封锁已知风险人员或测试账号
- 真实名称:输入名称(如 叶小米
- 新增
功能姓名黑名单
点击「
」按钮,弹出新增窗口,需填写以下内容:
- 真实姓名(必填): 输入需要封锁的真实姓名,不能为空。
- 备注(选填): 可填写封锁原因或相关说明,便于日后追溯管理。
- 填写完成后点击「确定」保存,该姓名即刻生效进入黑名单。


- 批量删除 功能
操作步骤:
- 在列表左侧勾选需要删除的记录(可多选)
- 点击「批量删除」按钮,系统弹出确认窗口,显示:确认此操作?
- 点击「确定」执行 / 点击「取消」放弃操作

- 操作列表:
- 「备注内容」:点击后可输入内容。
- 「操作」
- 修改:点击后修改完成,点击「确定」即可保存。
- 删除:点击后,弹出提示 确认此操作?,「确定」执行 / 点击「取消」放弃操作。
图片上传

本页面为系统的媒体资源管理中心,用于统一上传与管理站内所使用的图片及音频文件,上传后系统自动生成可直接引用的URL地址,供其他配置页面调用
- 图片名称:(模糊查询)如 阿咪
- 备注:(模糊查询)如 土系
- 上传文件
点击顶部「上传文件」按钮,弹出上传窗口。
- 支持将文件直接拖曳至窗口内,或点击「点击上传」选择本地文件。
- 弹出提示 操作成功,是否继续操作?,「确定」执行 / 点击「取消」放弃操作。
*目前仅支持 jpg、png、gif、mp3 格式的文件,上传完成后系统自动生成对应的URL地址并显示于「列表中」。


- 批量删除
操作步骤:
- 在列表左侧勾选需要删除的记录(可多选)
- 点击「批量删除」按钮,系统弹出确认窗口,显示:确定对[id=7895,7893]进行[批量删除]操作?
- 点击「确定」执行 / 点击「取消」放弃操作

- 操作列表:
- 「图片名称」修改
点击图片名称右侧的编辑图标「
」,弹出「修改图片名称」窗口,可对文件名称进行重新命名,修改后点击「确定」保存。

- 「备注内容」填写
- 列表中备注内容显示橙红色「添加备注」,可点击弹出「填写备注」窗口,输入说明文字后点击「确定」保存。*便于日后管理与查找。

- 「操作」
- 复制图片地址: 复制该文件的完整「URL」,可直接粘贴至需要引用图片的配置字段中。
- 复制标识地址: 复制该文件的标识「路径」,用于特定配置场景中的引用格式。
- 预览: 直接在页面中查看该图片的实际显示效果。
- 删除:点击后,弹出提示 确认此操作?,「确定」执行 / 点击「取消」放弃操作。
参数管理

本页面用于管理系统运行所需的全局参数设置,每个参数以键值对形式存储,通过修改参数值可调整系统的运行行为,无需改动程序代码。
- 已有参数说明如下
- dsf_pull_size(参数值:50): 每次从三方平台拉取注单的数量上限,当前设定为每次拉取50笔。
- dsf_settlement_rate(参数值:1): 三方平台结算比例模式,0表示使用默认比例,1表示使用内部优惠比例。
- lottery_settlement_rate(参数值:1): 彩票结算比例模式,0表示使用默认比例,1表示使用内部优惠比例。
- sys_report_delay_day(参数值:2): 报表结算的延迟天数,当前设定为延迟2天计算。
- SYSTEM_VERSION(参数值:1.0.8): 当前系统版本号。
- 参数名:(模糊查询)如 dsf
- 新增
功能
点击「
」按钮,弹出新增窗口,需填写以下内容:
- 参数名(必填): 填写英文参数标识,不可为空
- 参数值(必填): 填写该参数对应的数值或内容,不可为空
- 备注(选填): 填写该参数的用途说明,建议详细描述以便日后维护
- 填写完成后点击「确定」保存,参数即时生效

- 操作列表:
- 「操作」
- 修改:点击后修改完成,点击「确定」即可保存。
- 删除:点击后,弹出提示 确认此操作?,「确定」执行 / 点击「取消」放弃操作。